| ||||||
| № п/п | Наименование | Код детали | ||||
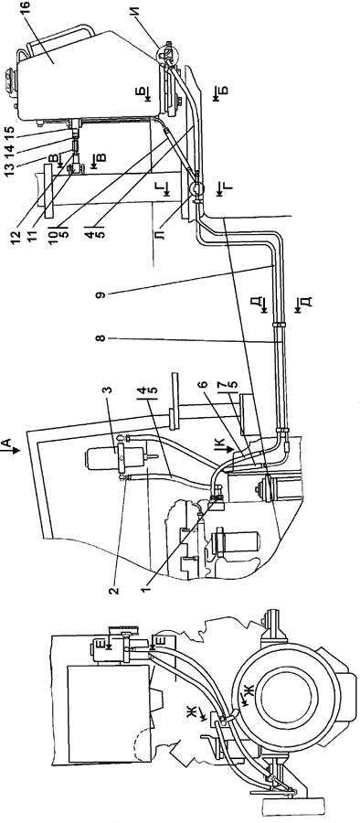
| 0 | Установка топливного бака | 1506-25-1СП(SP) | ||||
| 0 | Установка топливного бака | 1506-25-1-20СП(SP) | ||||
| 1 | Угольник | 1506-25-13СП(SP) | ||||
| 1 | Угольник | 1506-25-13-20СП(SP) | ||||
| 2 | Переходник | 1146-25-32СП(SP) | ||||
| 2 | Переходник | 1146-25-32-20СП(SP) | ||||
| 3 | Топливный фильтр FH23211М | - | ||||
| 4 | Рукав d12 | 404-26-213-11СП(SP) | ||||
| 4 | Рукав d12 | 404-26-213-11-20СП | ||||
| 5 | Кольцо 012-016-25-2-51-1668 ТУ 2531-260-00149245-00 | - | ||||
| 6 | Рукав | 312001-25-33СП(SP) | ||||
| 6 | Pукав | 312001-25-33-20СП | ||||
| 7 | Рукав d12 | 404-26-213-15СП(SP) | ||||
| 7 | Рукав d12 | 404-26-213-15-20СП | ||||
| 8 | Трубопровод | 1506-25-11СП(SP) | ||||
| 8 | Трубопровод | 1506-25-11-20СП(SP) | ||||
| 9 | Трубопровод | 1506-25-12СП(SP) | ||||
| 9 | Трубопровод | 1506-25-12-20СП(SP) | ||||
| 10 | Рукав d12 | 404-26-213СП(SP) | ||||
| 10 | Рукав d12 | 404-26-213-20СП(SP) | ||||
| 11 | Втулка | 2501-25-33СП(SP) | ||||
| 11 | Втулка | 2501-25-33-20СП(SP) | ||||
| 12 | Гайка М16?1,5 ГОСТ 5915-70 | - | ||||
| 13 | Стержень | 2001-25-27 | ||||
| 13 | Стержень | 2001-25-27-20 | ||||
| 14 | Гайка М16?1,5LН | 30 0265 | ||||
| 14 | Гайка М16?1,5LН | 30 0265-20 | ||||
| 15 | Втулка | 2501-25-33-01СП(SP) | ||||
| 15 | Втулка | 2501-25-33-01-20СП | ||||
| 16 | Бак топливный | 2006-25-10СП(SP) | ||||
| 16 | Бак топливный | 2006-25-10-20СП(SP) | ||||
Обращаем Ваше внимание, что пункты отмеченные звездочкой, обязательны для заполнения.