| ||||||
| № п/п | Наименование | Код детали | ||||
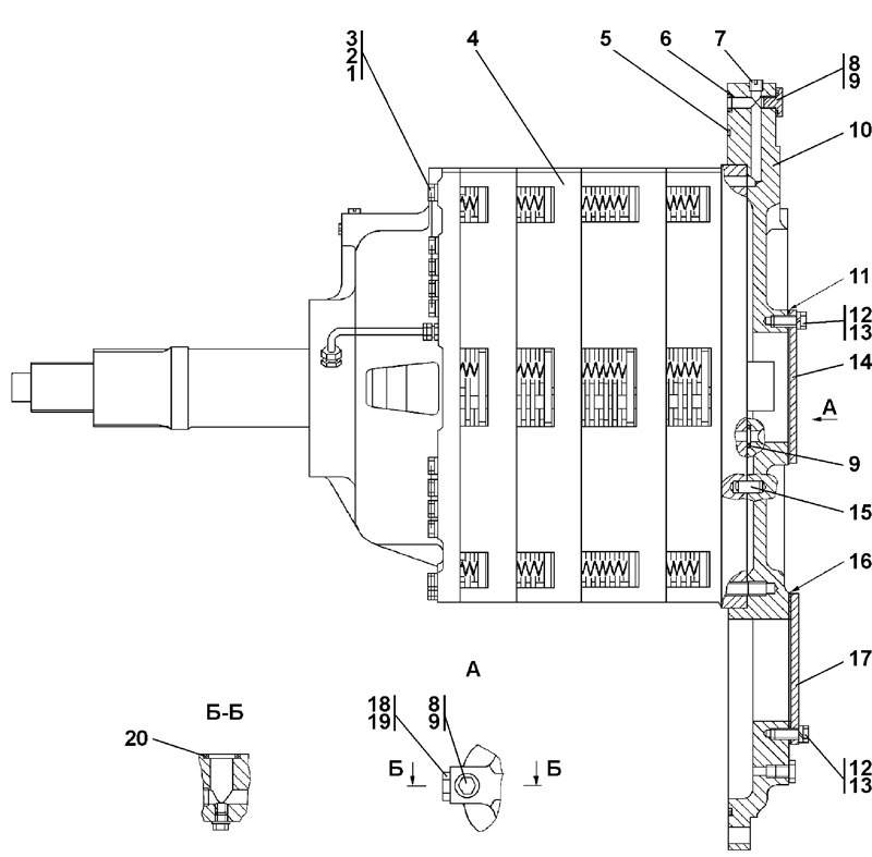
| 0 | Коробка передач | 2001-12-11СП(SP) | ||||
| 0 | Коробка передач | 2001-12-11-20СП(SP) | ||||
| 1 | Проволока КС1 ГОСТ 792-67 | - | ||||
| 2 | Шайба | 31 5220 | ||||
| 3 | Болт специальный | 2501-12-218-02 | ||||
| 4 | Коробка передач планетарная | 2001-12-10СП(SP) | ||||
| 5 | Кольцо | 40 0468-31 | ||||
| 6 | Кольцо 030-035-20-2ИРП 1314-1 ГОСТ 18829-73/ТУ 38.005.204-84 | - | ||||
| 7 | Пробка 3-кг ? ТУ 23.1.506-91 | 37 0260 | ||||
| 7 | Пробка 3-кг ? ТУ 23.1.506-91 | 37 0260-20 | ||||
| 8 | Пробка | 37 5331 | ||||
| 8 | Пробка | 37 5331-20 | ||||
| 9 | Кольцо 018-022-25-2-51-1668 ТУ2531-260-00149245-00 | - | ||||
| 10 | Корпус | 2001-12-52 | ||||
| 10 | Корпус | 2001-12-52-20 | ||||
| 11 | Прокладка | 45 0271 | ||||
| 11 | Прокладка | 45 0271-20 | ||||
| 12 | Болт М12-6g?30 ГОСТ 7796-70 | - | ||||
| 13 | Шайба 12 ОТ ГОСТ 6402-70 | - | ||||
| 14 | Крышка | 2001-12-74 | ||||
| 15 | Штифт | 32 5382 | ||||
| 16 | Прокладка | 45 0272 | ||||
| 16 | Прокладка | 45 0272-20 | ||||
| 17 | Крышка | 2001-12-75 | ||||
| 18 | Пробка | 37 5625 | ||||
| 18 | Пробка | 37 5625-20 | ||||
| 19 | Кольцо 016-020-25-2-51-1668 ТУ2531-260-00149245-00 | - | ||||
| 20 | Кольцо 032-038-36-2-51-1668 ТУ2531-260-00149245-00 | - | ||||
Обращаем Ваше внимание, что пункты отмеченные звездочкой, обязательны для заполнения.