| ||||||
| № п/п | Наименование | Код детали | ||||
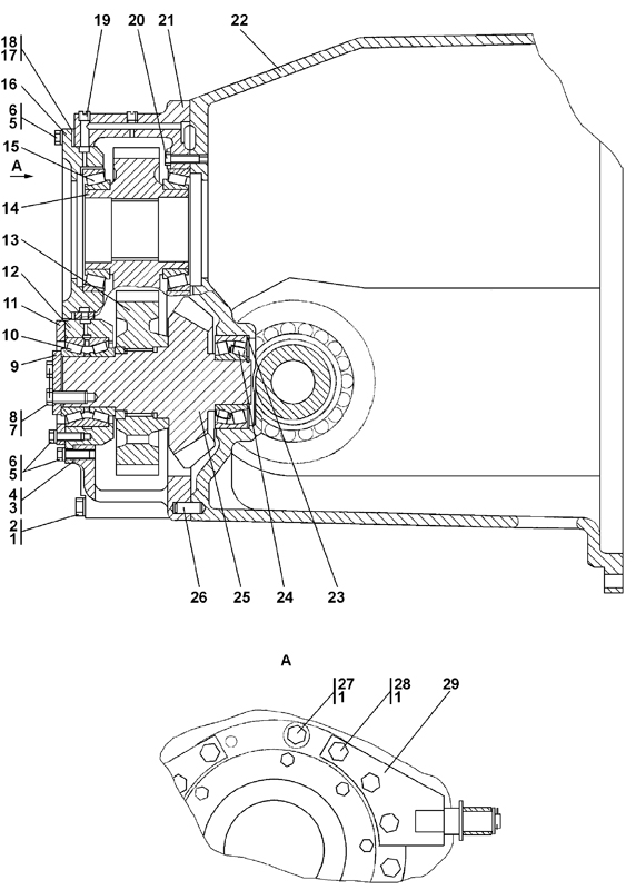
| 1 | Шайба | 31 5271 | ||||
| 2 | Болт М16?1,5?170 ГОСТ 7795-70 | 28 0580 | ||||
| 3 | Прокладка | 2001-12-69-01 | ||||
| 4 | Прокладка | 2001-12-69 | ||||
| 5 | Шайба | 31 0225 | ||||
| 6 | Болт М12?40 ГОСТ 7798-70 | 28 0350 | ||||
| 7 | Проволока КС 1,6 ГОСТ 792-67 | - | ||||
| 8 | Болт 3М14?1,5-6g?40 ГОСТ 7796-70 | 28 0516-01 | ||||
| 9 | Крышка | 2001-12-63 | ||||
| 10 | Шестерня | 2001-12-56 | ||||
| 11 | Пластина | 2001-12-89 | ||||
| 12 | Стакан | 2001-12-87 | ||||
| 13 | Шестерня | 2001-12-119СП(SP) | ||||
| 14 | Шестерня | 2001-12-81 | ||||
| 15 | Подшипник 6-2007122А ТУ37.006162-89 | - | ||||
| 16 | Стакан | 2001-12-58 | ||||
| 17 | Прокладка | 2001-12-68-01 | ||||
| 18 | Прокладка | 2001-12-68 | ||||
| 19 | Пробка 3-КГ 1/4? ТУ 23.1.506-91 | 37 0260 | ||||
| 20 | Болт М12-6g?50 ГОСТ 7795-70 | 28 0364 | ||||
| 21 | Корпус | 2001-12-51 | ||||
| 22 | Корпус | 2001-12-50 | ||||
| 23 | Кольцо С60 ГОСТ 13940-86 | 58 0609 | ||||
| 24 | Подшипник 53612Н ГОСТ 24696-81 | - | ||||
| 24 | или | - | ||||
| 24 | Подшипник 22312W33 | - | ||||
| 25 | Шестерня | 2001-12-88 | ||||
| 26 | Штифт | 32 5463 | ||||
| 27 | Болт М16?1,5-6g?60 ГОСТ 7795-70 | - | ||||
| 28 | Болт М16?1,5-6g?200 ГОСТ 7796-70 | 28 0587 | ||||
| 29 | Кронштейн | 2001-12-108СП(SP) | ||||
Обращаем Ваше внимание, что пункты отмеченные звездочкой, обязательны для заполнения.