| ||||||
| № п/п | Наименование | Код детали | ||||
| 0 | Водило | 2001-12-118СП(SP) | ||||
| 0 | Водило | 2001-12-118-20СП(SP) | ||||
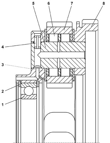
| 1 | Подшипник 6-1000922Л ГОСТ 8338-75 | - | ||||
| 1 | или | - | ||||
| 1 | Подшипник 61922МА.Р6Q6 | - | ||||
| 2 | Кольцо С150 ГОСТ 13941-86 | 580850 | ||||
| 3 | Кольцо упорное | 2001-12-27 | ||||
| 4 | Штифт | 2001-12-111СП(SP) | ||||
| 5 | Ось | 2001-12-28 | ||||
| 6 | Подшипник 6-252807Д | - | ||||
| 7 | Сателлит | 2001-12-26 | ||||
| 8 | Водило | 2001-12-44 | ||||
Обращаем Ваше внимание, что пункты отмеченные звездочкой, обязательны для заполнения.