| ||||||
| № п/п | Наименование | Код детали | ||||
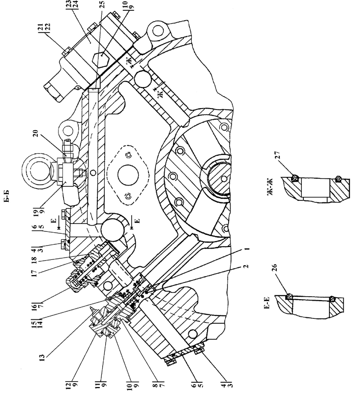
| 1 | Втулка | 2501-14-58 | ||||
| 2 | Пружина | 38 327 | ||||
| 3 | Шайба 10 ОТ ГОСТ 6402-70 | - | ||||
| 4 | Болт М10-6g?25 | 28 0230 | ||||
| 4 | Болт М10-6g?25 | 28 0230-20 | ||||
| 5 | Кольцо 039-045-36-2-51-1668 ТУ 2531-260-00149245-00 | - | ||||
| 6 | Крышка | 2001-14-30 | ||||
| 7 | Кольцо 045-050-30-2-51-1668 ТУ 2531-260-00149245-00 | - | ||||
| 8 | Пробка | 2501-14-59 | ||||
| 9 | Кольцо 018-022-25-2-51-1668 ТУ 2531-260-00149245-00 | - | ||||
| 10 | Пробка | 37 5330 | ||||
| 10 | Пробка | 37 5330-20 | ||||
| 11 | Переходник | 1101-15-52 | ||||
| 11 | Переходник | 1101-15-52-20 | ||||
| 12 | Болт зажимной | 2501-20-8-01 | ||||
| 12 | Болт зажимной | 2501-20-8-01-20 | ||||
| 13 | Датчик аварийного давления масла 3602.3829 ТУ 37.453.092-93 | - | ||||
| 14 | Кольцо | 47-59-205 | ||||
| 15 | Шайба | 46-05-764 | ||||
| 16 | Крышка | 2001-14-60 | ||||
| 17 | Втулка | 2001-14-41 | ||||
| 18 | Клапан | 201-14-17СП(SP) | ||||
| 19 | Угольник | 2501-20-58 | ||||
| 20 | Штуцер | 2701-12-44 | ||||
| 20 | Штуцер | 2701-12-44-20 | ||||
| 21 | Болт М12-6g?90 | 28 0388 | ||||
| 21 | Болт М12-6g?90 | 28 0388-20 | ||||
| 22 | Шайба 12 ОТ ГОСТ 6402-70 | - | ||||
| 23 | Клапан | 2501-15-138СП(SP) | ||||
| 23 | Клапан | 2501-15-138-20СП(SP) | ||||
| 24 | Прокладка | 700-40-5336 | ||||
| 24 | Прокладка | 700-40-5336-20 | ||||
| 25 | Пробка 3кг1/4? ТУ23.1.506-91 | 37 0260 | ||||
| 26 | Кольцо 042-050-46-2-51-1668 ТУ 2531-260-00149245-00 | - | ||||
| 27 | Кольцо 075-081-36-2-3 ГОСТ 18829-73 | - | ||||
Обращаем Ваше внимание, что пункты отмеченные звездочкой, обязательны для заполнения.