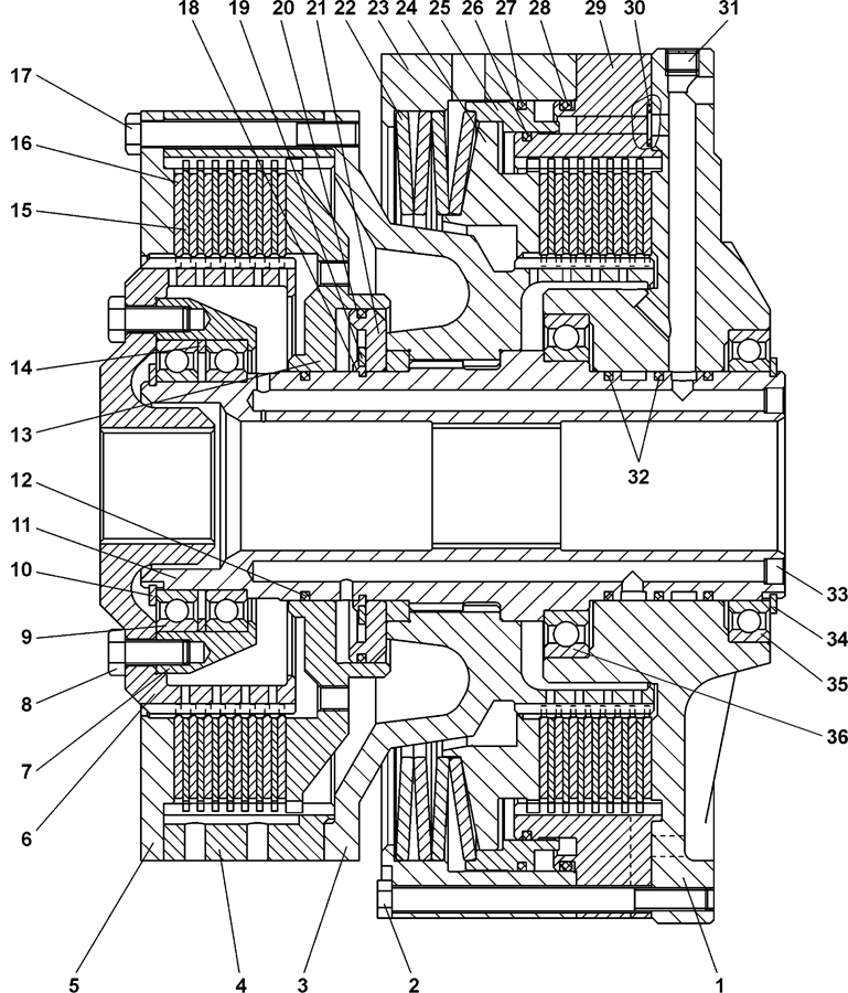
| ||||||
| № п/п | Наименование | Код детали | ||||
| 0 | Фрикцион бортовой и тормоз остановочный | 2001-18-10-01СП(SP) | ||||
| 0 | Фрикцион бортовой и тормоз остановочный | 2001-18-10-01-20СП | ||||
| 1 | Корпус | 2001-18-33 | ||||
| 2 | Болт 3М12?1,25-6g?105 ГОСТ 7796-70 | 28 1393 | ||||
| 3 | Барабан | 2001-18-103СП(SP) | ||||
| 4 | Барабан | 2001-18-8-01 | ||||
| 5 | Крышка | 2001-18-14 | ||||
| 6 | Барабан | 2001-18-9 | ||||
| 7 | Обойма | 2001-18-15 | ||||
| 8 | Болт 3М12-6gх30 ГОСТ 7798-70 | 28 0339 | ||||
| 9 | Подшипник 1000920 ГОСТ 8338-75 | - | ||||
| 10 | Кольцо С100 ГОСТ 13940-86 | 58 0760 | ||||
| 11 | Вал | 2001-18-31 | ||||
| 12 | Кольцо уплотнительное | 2501-12-181-22 | ||||
| 13 | Поршень | 2001-18-10 | ||||
| 14 | Кольцо | 2001-18-21 | ||||
| 15 | Диск | 2001-18-7 | ||||
| 16 | Диск | 2001-18-100СП(SP) | ||||
| 17 | Болт 3М12?1,25-6g?100 ГОСТ 7796-70 | 28 0389 | ||||
| 18 | Кольцо | 2001-18-12 | ||||
| 19 | Кольцо С120 ГОСТ 13940-86 | 58 0814 | ||||
| 20 | Кольцо уплотнительное | 2501-12-181-01 | ||||
| 21 | Кольцо | 2001-18-11 | ||||
| 22 | Тарелка | 312501-90-133 | ||||
| 23 | Барабан | 2001-18-6 | ||||
| 24 | Диск нажимной | 2001-18-5 | ||||
| 25 | Поршень | 2001-18-4 | ||||
| 26 | Кольцо уплотнительное | 2501-12-181-30 | ||||
| 27 | Кольцо уплотнительное | 2501-12-181-45 | ||||
| 28 | Кольцо 345-355-58-2-3 ГОСТ 18829-73 | - | ||||
| 29 | Проставка | 2001-18-3-01 | ||||
| 30 | Кольцо 016-020-25-2-51-1668 ТУ 2531-260-00149245-00 | - | ||||
| 31 | Пробка | 700-37-2071 | ||||
| 32 | Кольцо уплотнительное | 2001-18-28 | ||||
| 33 | Штифт | 700-32-2074 | ||||
| 34 | Кольцо С110 ГОСТ 13940-86 | 58 0805 | ||||
| 35 | Подшипник 1000922Л ГОСТ 8338-75 | - | ||||
| 36 | Подшипник 1000924 ГОСТ 8338-75 | - | ||||
Обращаем Ваше внимание, что пункты отмеченные звездочкой, обязательны для заполнения.