| ||||||
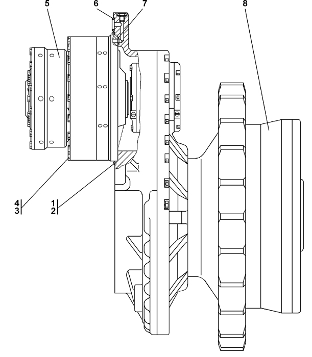
| № п/п | Наименование | Код детали | ||||
| 0 | Передача бортовая, фрикцион и тормоз | 2001-19-1СП(SP) | ||||
| 0 | Передача бортовая, фрикцион и тормоз | 2001-19-1-20СП(SP) | ||||
| 1 | Кольцо (допускается замена на дет. поз.2) | 40 0468-08 | ||||
| 2 | Кольцо 430-440-58-2-3 (допускается замена на дет. поз.1) ГОСТ 18829-73 | - | ||||
| 3 | Проволока 1,6-О-С ГОСТ 3282-74 | - | ||||
| 4 | Болт 3М12?1,25-6g?170 ГОСТ 7798-70 | 28 0397 | ||||
| 5 | Фрикцион бортовой и тормоз | 2001-18-10-01СП(SP) | ||||
| 6 | Кольцо 039-045-36-2-51-1668 | - | ||||
| 7 | Кольцо 016-020-25-2-51-1668 | - | ||||
| 8 | Передача бортовая | 1501-19-10СП(SP) | ||||
| 8 | Передача бортовая | 1501-19-10-20СП(SP) | ||||
Обращаем Ваше внимание, что пункты отмеченные звездочкой, обязательны для заполнения.