| ||||||
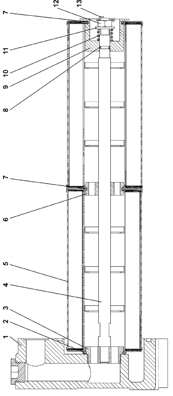
| № п/п | Наименование | Код детали | ||||
| 0 | Фильтр | 312001-15-10СП | ||||
| 0 | Фильтр | 312001-15-10-20СП | ||||
| 1 | Крышка | 312001-15-9СП(SP) | ||||
| 1 | Крышка | 312001-15-9-20СП(SP) | ||||
| 2 | Кольцо 060-070-58-2-51-1668 ТУ 2531-260-00149245-00 | - | ||||
| 3 | Втулка | 312001-15-5 | ||||
| 4 | Стержень | 312001-15-7 | ||||
| 5 | Элемент фильтрующий ЭФМ021.1012040 ТУ3117.008.00232058-97 | - | ||||
| 5 | Элемент фильтрующий ЭФМ021.1012040Т ТУ3117.008.00232058-97 | - | ||||
| 6 | Втулка | 312001-15-18 | ||||
| 7 | Кольцо 050-060-58-2-51-1668 | - | ||||
| 8 | Кольцо 012-016-25-2-51-1668 | - | ||||
| 9 | Чашка | 312001-15-8 | ||||
| 10 | Пружина | 38 5486 | ||||
| 11 | Шайба 14?3 ГОСТ 11371-78 | 31 0250-01 | ||||
| 11 | Шайба 14?3 ГОСТ 11371-78 | 31 0250-01-20 | ||||
| 12 | Гайка М14?1,5 ГОСТ 5915-70 | 30 0250 | ||||
| 13 | Шплинт 3,2?25.019 ГОСТ 397-79 | - | ||||
Обращаем Ваше внимание, что пункты отмеченные звездочкой, обязательны для заполнения.