| ||||||
| № п/п | Наименование | Код детали | ||||
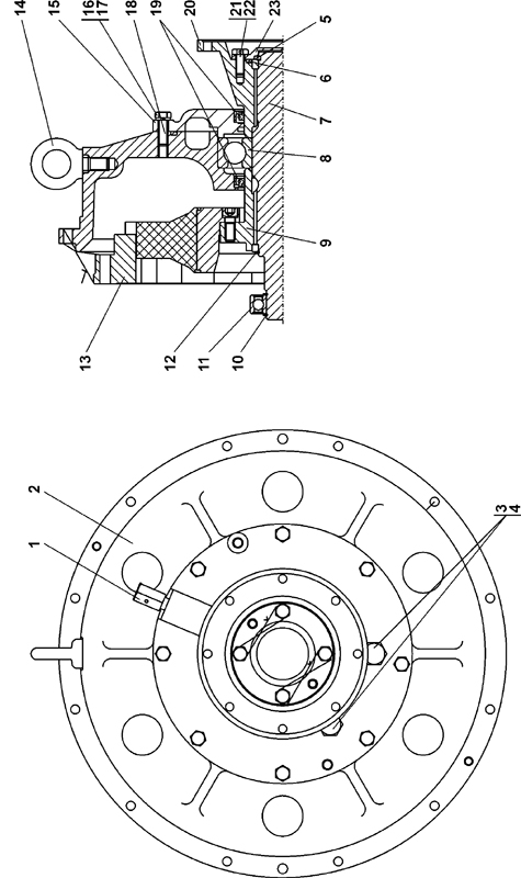
| 0 | Муфта упругая | 312001-20-2СП(SP) | ||||
| 0 | Муфта упругая | 312001-20-2-20СП(SP) | ||||
| 1 | Сапун | 46-14-141СП(SP) | ||||
| 1 | Сапун | 46-14-141-20СП(SP) | ||||
| 2 | Корпус | 312001-20-4 | ||||
| 2 | Корпус | 312001-20-1-20 | ||||
| 3 | Пробка | 37 5331 | ||||
| 3 | Пробка | 37 5331-20 | ||||
| 4 | Кольцо 018-022-25-2-51-1668 ТУ2531-260-00149245-00 | - | ||||
| 5 | Кольцо | 2001-20-10 | ||||
| 6 | Кольцо 080-090-58-2-51-1668 ТУ2531-260-00149245-00 | - | ||||
| 7 | Вал | 312001-20-5 | ||||
| 8 | Подшипник 180315 ГОСТ 8882-75 | - | ||||
| 9 | Ступица | 1102-20-102СП(SP) | ||||
| 10 | Кольцо С40 ГОСТ 13940-86 | 58 0404 | ||||
| 11 | Подшипник 180508 ГОСТ 8882-75 | - | ||||
| 12 | Кольцо С60 | 58 0609 | ||||
| 12 | Кольцо С60 | 58 0609-20 | ||||
| 13 | Муфта упругая «Centa»* СМ-2400-14-65381 | - | ||||
| 14 | Рым-болт М16 | 28 0590 | ||||
| 14 | Рым-болт М16 | 28 0590-20 | ||||
| 15 | Крышка | 2001-20-5 | ||||
| 15 | Крышка | 2001-20-5-20 | ||||
| 16 | Болт М12-6g?35 ГОСТ 7796-70 | - | ||||
| 17 | Шайба 12.ОТ ГОСТ 6402-70 | - | ||||
| 18 | Кольцо 260-270-58-2-3 ГОСТ 18829-73 | - | ||||
| 19 | Манжета 95-120-12 BAB SL AS DIN 3761 (Art-№2315) | - | ||||
| 20 | Фланец | 2001-20-101СП(SP) | ||||
| 20 | Шайба | 2001-20-102СП(SP) | ||||
| 21 | Болт 3М10-6g?25 | 28 0231 | ||||
| 21 | Болт 3М10-6g?25 | 28 0231-20 | ||||
| 22 | Проволока 1,6-О-С ГОСТ 3282-74 | - | ||||
| 23 | Крышка | 2001-20-9 | ||||
Обращаем Ваше внимание, что пункты отмеченные звездочкой, обязательны для заполнения.