| ||||||
| № п/п | Наименование | Код детали | ||||
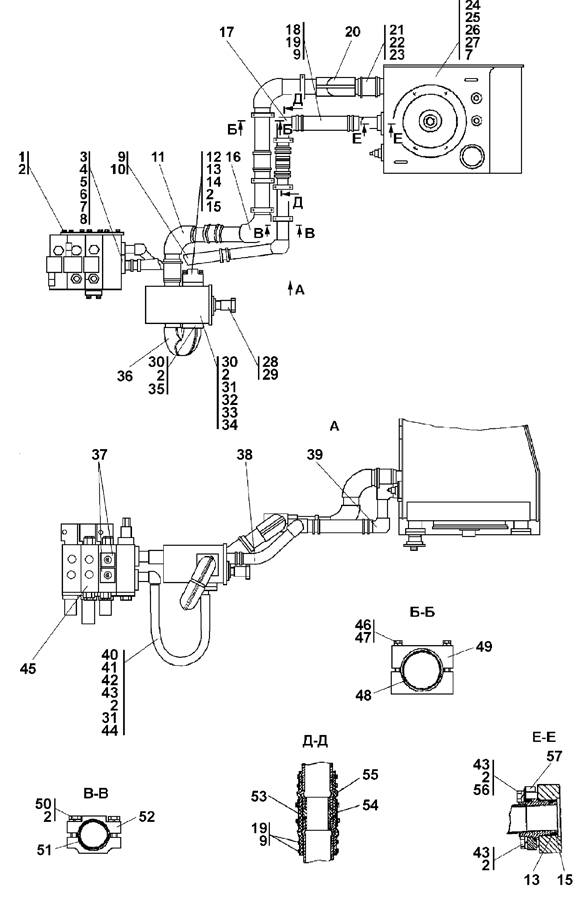
| 0 | Установка гидросистемы* | 1501-26-1-02СП(SP) | ||||
| 0 | Установка гидросистемы* | 1501-26-1-02-20СП(SP) | ||||
| 1 | Болт М12-6g?35 ГОСТ 7796-70 | - | ||||
| 2 | Шайба 12 ОТ ГОСТ 6402-70 | - | ||||
| 3 | Наконечник | 2001-26-284 | ||||
| 3 | Наконечник | 2001-26-284-20 | ||||
| 4 | Фланец | 46-26-280 | ||||
| 4 | Фланец | 46-26-280-20 | ||||
| 5 | Винт | 3502-20-4 | ||||
| 5 | Винт | 3502-20-4-20 | ||||
| 6 | Шайба защитная | 44 0005 | ||||
| 7 | Шайба 16 ОТ ГОСТ 6402-70 | - | ||||
| 8 | Кольцо 042-050-46-2-51-1668 ТУ2531-260-00149245-00 | - | ||||
| 9 | Хомут (допускается замена на поз.19) | 5001-26-130-02СП(SP) | ||||
| 9 | Хомут | 5001-26-130-02-20СП | ||||
| 10 | Рукав | 1101-26-121-08 | ||||
| 10 | Рукав | 1101-26-121-08-20 | ||||
| 11 | Трубопровод | 2001-26-78СП(SP) | ||||
| 11 | Трубопровод | 2001-26-78-20СП(SP) | ||||
| 12 | Трубопровод | 2001-26-86СП(SP) | ||||
| 12 | Трубопровод | 2001-26-86-20СП(SP) | ||||
| 13 | Шайба защитная | 700-40-5117 | ||||
| 14 | Болт М12-6g?50 | 28 0364 | ||||
| 14 | Болт М12-6g?50 | 28 0364-20 | ||||
| 15 | Кольцо 050-060-58-2-51-1668 ТУ2531-260-00149245-00 | - | ||||
| 16 | Трубопровод | 2001-26-79СП(SP) | ||||
| 16 | Трубопровод | 2001-26-79-20СП(SP) | ||||
| 17 | Трубопровод | 2001-26-92СП(SP) | ||||
| 17 | Трубопровод | 2001-26-92-20СП(SP) | ||||
| 18 | Рукав | 1101-26-121-11 | ||||
| 18 | Рукав | 1101-26-121-11-20 | ||||
| 19 | Хомут AS-50-70/12С7-W2 DIN3017 (допускается замена на поз.9) | - | ||||
| 20 | Трубопровод | 2001-26-43СП(SP) | ||||
| 20 | Трубопровод | 2001-26-43-20СП(SP) | ||||
| 21 | Рукав | 46 1701 | ||||
| 21 | Рукав | 46 1701-20 | ||||
| 22 | Хомут AS-70-90/12С7-W2 DIN3017 (допускается замена на поз.23) | - | ||||
| 23 | Хомут (допускается замена на поз.22) | 5001-26-130СП(SP) | ||||
| 23 | Хомут | 5001-26-130-20СП(SP) | ||||
| 24 | Бак гидросистемы | 2001-26-30СП(SP) | ||||
| 24 | Бак гидросистемы | 2001-26-30-20СП(SP) | ||||
| 25 | Амортизатор | 2501-25-37СП(SP) | ||||
| 26 | Шайба | 1101-25-36 | ||||
| 27 | Болт М16?1,5-6g?105 | 28 0570 | ||||
| 27 | Болт М16?1,5-6g?105 | 28 0570-20 | ||||
| 28 | Муфта | 2001-16-32 | ||||
| 29 | Кольцо С34 ГОСТ 13940-86 | 58 0307 | ||||
| 30 | Болт М12-6g?40 ГОСТ 7796-70 | - | ||||
| 31 | Шайба 12?2 | 31 0210 | ||||
| 31 | Шайба 12?2 | 31 0210-20 | ||||
| 32 | Кольцо 085-088-36-2-5 ГОСТ 18829-73 (допускается замена на поз.33) | - | ||||
| 33 | Кольцо 082-088-36-2-WS-65-02 (допускается замена на поз. 32) | - | ||||
| 34 | Насос S1А6155T51A1L1HA | - | ||||
| 35 | Кольцо 075-081-36-25-2-ИРП1314-1 ГОСТ 18829-73 | - | ||||
| 36 | Трубопровод | 2001-26-87СП(SP) | ||||
| 36 | Трубопровод | 2001-26-87-20СП(SP) | ||||
| 37 | Заглушка | 2501-26-150 | ||||
| 37 | Заглушка | 2501-26-150-20 | ||||
| 38 | Трубопровод | 1501-26-39СП(SP) | ||||
| 38 | Трубопровод | 1501-26-39-20СП(SP) | ||||
| 39 | Трубопровод | 2001-26-91СП(SP) | ||||
| 39 | Трубопровод | 2001-26-91-20СП(SP) | ||||
| 40 | Рукав d25 | 3501-26-177-05СП(SP) | ||||
| 40 | Рукав d25 | 3501-26-177-05-20СП | ||||
| 41 | Фланец | 2501-26-83 | ||||
| 41 | Фланец | 2501-26-83-20 | ||||
| 42 | Кольцо защитное | 44 0038 | ||||
| 43 | Болт М12?1,25-6g?45 ГОСТ 7796-70 | - | ||||
| 44 | Кольцо 032-038-36-2-51-1668 ТУ2531-260-00149245-00 | - | ||||
| 45 | Распределитель секционный | 2001-26-21-01СП(SP) | ||||
| 45 | Распределитель секционный | 2001-26-21-01-20СП | ||||
| 46 | Болт М8-6g?70 ГОСТ 7795-70 | - | ||||
| 47 | Шайба 8Т ГОСТ 6402-70 | - | ||||
| 48 | Прокладка | 700-40-6684-01 | ||||
| 49 | Бугель | 312501-94-105 | ||||
| 49 | Бугель | 312501-94-105-20 | ||||
| 50 | Болт М8-6g?40 | 28 0140 | ||||
| 50 | Болт М8-6g?40 | 28 0140-20 | ||||
| 51 | Прокладка | 700-40-6684 | ||||
| 52 | Бугель | 5001-26-215 | ||||
| 52 | Бугель | 5001-26-215-20 | ||||
| 53 | Бандаж | 2501-26-346 | ||||
| 53 | Бандаж | 2501-26-346-20 | ||||
| 54 | Втулка | 313502-26-221 | ||||
| 55 | Рукав | 46 1501-03 | ||||
| 55 | Рукав | 46 1501-03-20 | ||||
| 56 | Шайба | 46-11-476 | ||||
| 56 | Шайба | 46-11-476-20 | ||||
| 57 | Фланец | 2501-26-362 | ||||
| 57 | Фланец | 2501-26-362-20 | ||||
Обращаем Ваше внимание, что пункты отмеченные звездочкой, обязательны для заполнения.