| ||||||
| № п/п | Наименование | Код детали | ||||
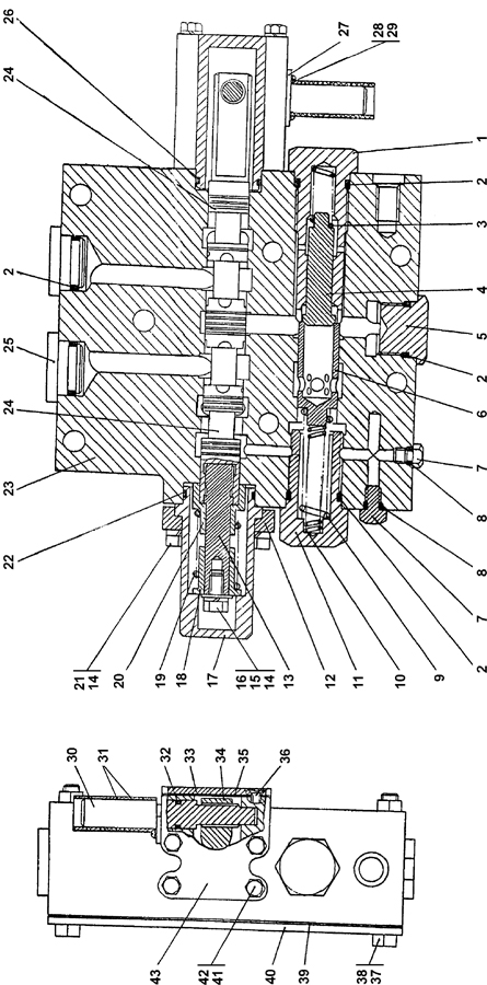
| 0 | Распределитель | 2001-26-22-01СП(SP) | ||||
| 0 | Распределитель | 2001-26-22-01-20СП | ||||
| 1 | Направляющая клапана | 2001-26-270 | ||||
| 2 | Кольцо 032-038-36-2-51-1668 ТУ2531-260-00149245-00 | - | ||||
| 3 | Пружина | 700-38-2563 | ||||
| 3 | Пружина | 700-38-2563-20 | ||||
| 4 | Клапан | 2001-26-269 | ||||
| 5 | Пробка* | 37 5952 | ||||
| 5 | Пробка* | 37 5952-20 | ||||
| 6 | Клапан | 2001-26-145 | ||||
| 7 | Пробка | 37 5245 | ||||
| 7 | Пробка | 37 5245-20 | ||||
| 8 | Кольцо 007-011-25-2-51-1668 ТУ2531-260-00149245-00 | - | ||||
| 9 | Пружина | 38 5484-01 | ||||
| 10 | Пружина | 38 5276-01 | ||||
| 11 | Направляющая | 2001-26-280 | ||||
| 12 | Фланец | 2001-26-155 | ||||
| 13 | Хвостовик | 2001-26-156 | ||||
| 14 | Шайба 10 ОТ ГОСТ 6402-70 | - | ||||
| 15 | Шайба 10 ГОСТ 11371-78 | 31 0170 | ||||
| 15 | Шайба 10 ГОСТ 11371-78 | 31 0170-20 | ||||
| 16 | Болт М10-6g?20 ГОСТ 7796-70 | - | ||||
| 17 | Крышка | 2001-26-153 | ||||
| 18 | Втулка | 2001-26-160-01 | ||||
| 19 | Пружина | 38 5392 | ||||
| 20 | Втулка | 2001-26-159 | ||||
| 21 | Болт М8-6g?35 ГОСТ 7795-70 | - | ||||
| 22 | Кольцо 045-050-30-2-51-1668 ТУ2531-260-00149245-00 | - | ||||
| 23 | Корпус | 2001-26-142-01 | ||||
| 24 | Золотник | 2001-26-26СП(SP) | ||||
| 25 | Заглушка | 2501-26-150 | ||||
| 25 | Заглушка | 2501-26-150-20 | ||||
| 26 | Кольцо 039-045-36-2-51-1668 ТУ2531-260-00149245-00 | - | ||||
| 27 | Стопор | 2001-26-273 | ||||
| 27 | Стопор | 2001-26-273-20 | ||||
| 28 | Винт М4-6g?12 ГОСТ 17473-80 | - | ||||
| 29 | Шайба ГОСТ 6402-70 | - | ||||
| 30 | Валик | 2001-26-257-01 | ||||
| 30 | Валик | 2001-26-257-01-20 | ||||
| 31 | Труба | 2501-15-152-01 | ||||
| 32 | Кольцо 016-020-25-2-51-1668 ТУ2531-260-00149245-00 | - | ||||
| 33 | Крышка | 2001-26-255 | ||||
| 34 | Рычаг | 2001-26-256 | ||||
| 35 | Прокладка | 45 0290 | ||||
| 35 | Прокладка | 45 0290-20 | ||||
| 36 | Винт ВМ8-6g?18 ГОСТ 17475-80 | - | ||||
| 37 | Гайка М12?1,25 | 30 0215-01 | ||||
| 37 | Гайка М12?1,25 | 30 0215-01-20 | ||||
| 38 | Болт 3М12?1,25-6g?100 | 28 0389 | ||||
| 38 | Болт 3М12?1,25-6g?100 | 28 0389-20 | ||||
| 39 | Прокладка | 45 0263 | ||||
| 40 | Крышка | 2001-26-165 | ||||
| 41 | Шайба 8Т ГОСТ 6402-70 | - | ||||
| 42 | Болт М8-6g?115 | 28 0187 | ||||
| 42 | Болт М8-6g?115 | 28 0187-20 | ||||
| 43 | Фланец | 1501-26-1 | ||||
| 43 | Фланец | 1501-26-1-20 | ||||
Обращаем Ваше внимание, что пункты отмеченные звездочкой, обязательны для заполнения.