| ||||||
| № п/п | Наименование | Код детали | ||||
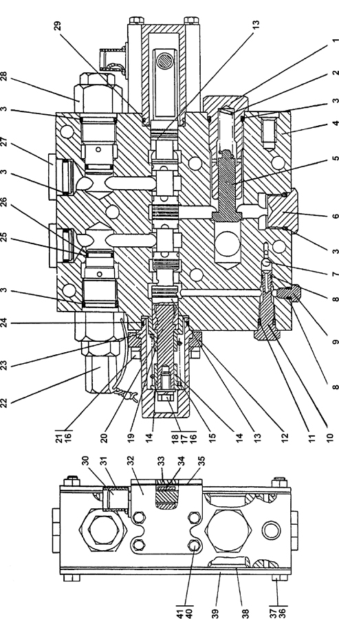
| 0 | Распределитель | 2001-26-22-02СП(SP) | ||||
| 0 | Распределитель | 2001-26-22-02-20СП | ||||
| 1 | Направляющая клапана | 2001-26-147 | ||||
| 1 | Направляющая клапана | 2001-26-147-20 | ||||
| 2 | Пружина | 700-38-2563 | ||||
| 2 | Пружина | 700-38-2563-20 | ||||
| 3 | Кольцо 032-038-36-2-51-1668 ТУ2531-260-00149245-00 | - | ||||
| 4 | Корпус | 2001-26-142-02 | ||||
| 5 | Клапан | 2001-26-146 | ||||
| 6 | Пробка* | 37 5952 | ||||
| 6 | Пробка* | 37 5952-20 | ||||
| 7 | Шарик Б10-100 ГОСТ 3722-81 | - | ||||
| 8 | Кольцо 007-011-25-2-51-1668 ТУ2531-260-00149245-00 | - | ||||
| 9 | Пробка | 37 5245 | ||||
| 9 | Пробка | 37 5245-20 | ||||
| 10 | Направляющая | 2001-26-149 | ||||
| 11 | Кольцо 014-018-25-2-51-1668 ТУ2531-260-00149245-00 | - | ||||
| 12 | Фланец | 2001-26-155 | ||||
| 13 | Золотник | 2001-26-26СП(SP) | ||||
| 14 | Втулка | 2001-26-160 | ||||
| 15 | Пружина | 38 5392 | ||||
| 16 | Шайба 10 ОТ ГОСТ 11371-78 | - | ||||
| 17 | Шайба 10 | 31 0170 | ||||
| 17 | Шайба 10 | 31 0170-20 | ||||
| 18 | Болт М10-6g?20 ГОСТ 7796-70 | - | ||||
| 19 | Втулка | 2001-26-159 | ||||
| 20 | Хвостовик | 2001-26-156 | ||||
| 21 | Болт М8-6g?35 ГОСТ 7795-70 | - | ||||
| 22 | Клапан предохранительный | 2001-26-24-01СП(SP) | ||||
| 22 | Клапан предохранительный | 2001-26-24-01-20СП | ||||
| 23 | Крышка | 2001-26-153 | ||||
| 24 | Кольцо 045-050-30-2-51-1668 ТУ2531-260-00149245-00 | - | ||||
| 25 | Шайба защитная | 2001-26-178 | ||||
| 26 | Кольцо 025-030-30-2-51-1668 ТУ2531-260-00149245-00 | - | ||||
| 27 | Заглушка* | 2501-26-150 | ||||
| 27 | Заглушка* | 2501-26-150-20 | ||||
| 28 | Клапан | 2001-26-25СП(SP) | ||||
| 28 | Клапан | 2001-26-25-20СП(SP) | ||||
| 29 | Кольцо 039-045-36-2-51-1668 ТУ2531-260-00149245-00 | - | ||||
| 30 | Валик | 2001-26-257 | ||||
| 30 | Валик | 2001-26-257-20 | ||||
| 31 | Труба | 2501-15-152-01 | ||||
| 32 | Фланец | 1501-26-1-01 | ||||
| 32 | Фланец | 1501-26-1-01-20 | ||||
| 33 | Крышка | 2001-26-255 | ||||
| 34 | Рычаг | 2001-26-256 | ||||
| 35 | Прокладка | 45 0290 | ||||
| 35 | Прокладка | 45 0290-20 | ||||
| 36 | Гайка М12?1,25 | 30 0215-01 | ||||
| 36 | Гайка М12?1,25 | 30 0215-01-20 | ||||
| 37 | Болт 3М121,25-6g?100 | 28 0389 | ||||
| 37 | Болт 3М121,25-6g?100 | 28 0389-20 | ||||
| 38 | Прокладка | 45 0263 | ||||
| 39 | Крышка | 2001-26-165 | ||||
| 40 | Шайба 8Т ГОСТ 11371-78 | - | ||||
| 41 | Болт М8-6g?115 | 28 0187 | ||||
| 41 | Болт М8-6g?115 | 28 0187-20 | ||||
Обращаем Ваше внимание, что пункты отмеченные звездочкой, обязательны для заполнения.