| ||||||
| № п/п | Наименование | Код детали | ||||
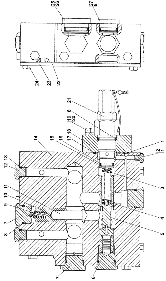
| 0 | Клапан | 2001-26-23СП(SP) | ||||
| 0 | Клапан | 2001-26-23-20СП(SP) | ||||
| 1 | Кольцо 007-011-25-2-51-1668 ТУ2531-260-00149245-00 | - | ||||
| 2 | Пробка | 37 5245 | ||||
| 2 | Пробка | 37 5245-20 | ||||
| 3 | Пружина | 38 5484-01 | ||||
| 4 | Пружина | 38 5276-01 | ||||
| 5 | Золотник | 2001-26-166 | ||||
| 6 | Плунжер | 2001-26-277 | ||||
| 7 | Пробка* | 37 5952 | ||||
| 7 | Пробка* | 37 5952-20 | ||||
| 8 | Кольцо 032-038-36-2-51-1668 ТУ2531-260-00149245-00 | - | ||||
| 9 | Пружина | 700-38-2245 | ||||
| 10 | Плунжер | 2001-26-275 | ||||
| 11 | Клапан | 2001-26-276 | ||||
| 12 | Пробка* | 37 5625 | ||||
| 12 | Пробка* | 37 5625-20 | ||||
| 13 | Кольцо 018-022-25-2-51-1668 ТУ2531-260-00149245-00 | - | ||||
| 14 | Корпус | 2001-26-143 | ||||
| 15 | Кольцо 025-030-30-2-51-1668 ТУ2531-260-00149245-00 | - | ||||
| 16 | Шайба защитная | 2001-26-178 | ||||
| 17 | Кольцо 049-055-36-2-51-1668 ТУ2531-260-00149245-00 | - | ||||
| 18 | Фланец | 2001-26-167 | ||||
| 19 | Болт М16?1,5-6g?60 ГОСТ 7795-70 | - | ||||
| 20 | Шайба 16 ОТ ГОСТ 6402-70 | - | ||||
| 21 | Клапан предохранительный | 2001-26-24СП(SP) | ||||
| 21 | Клапан предохранительный | 2001-26-24-20СП(SP) | ||||
| 22 | Прокладка | 45 0263 | ||||
| 23 | Крышка | 2001-26-165 | ||||
| 24 | Болт М12-6g?20 ГОСТ 7796-70 | - | ||||
| 25 | Заглушка | 25-26-207* | ||||
| 25 | Заглушка | 25-26-207-20 | ||||
| 26 | Кольцо 042-050-46-2-51-1668 ТУ2531-260-00149245-00 | - | ||||
| 27 | Заглушка | 2501-26-150* | ||||
| 27 | Заглушка | 2501-26-150-20 | ||||
Обращаем Ваше внимание, что пункты отмеченные звездочкой, обязательны для заполнения.