| ||||||
| № п/п | Наименование | Код детали | ||||
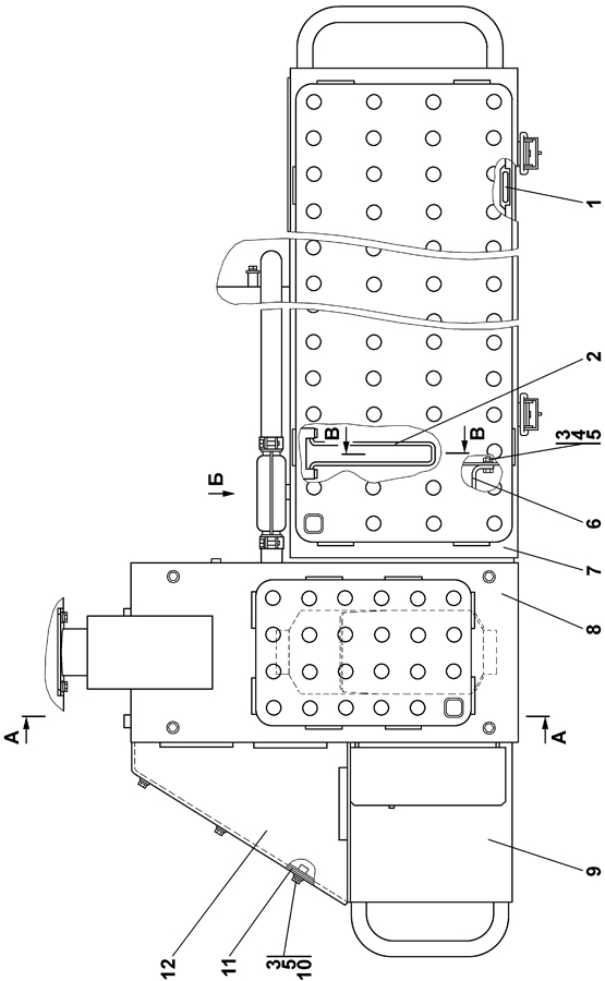
| 0 | Установка независимого отопителя кабины | 2001-53-3-01СП(SP) | ||||
| 0 | Установка независимого отопителя кабины | 2001-53-3-01-20СП | ||||
| 1 | Опора | 40 0085 | ||||
| 2 | Ограничитель | 2001-53-45 | ||||
| 3 | Болт М6-6g?16 ГОСТ 7798-70 | - | ||||
| 4 | Гайка М6 ГОСТ 5915-70 | - | ||||
| 5 | Шайба 6Т ГОСТ 6402-70 | - | ||||
| 6 | Кронштейн | 2001-53-54 | ||||
| 7 | Контейнер | 2001-53-12-02СП(SP) | ||||
| 7 | Контейнер | 2001-53-12-02-20СП | ||||
| 8 | Крышка | 2001-53-70СП(SP) | ||||
| 8 | Крышка | 2001-53-70-20СП(SP) | ||||
| 9 | Контейнер | 2001-53-11СП(SP) | ||||
| 9 | Контейнер | 2001-53-11-20СП(SP) | ||||
| 10 | Шайба 6 ГОСТ 6958-78 | 31 0120 | ||||
| 10 | Шайба 6 ГОСТ 6958-78 | 31 0120-20 | ||||
| 11 | Крышка | 2001-53-49 | ||||
| 12 | Крышка | 2001-53-58 | ||||
Обращаем Ваше внимание, что пункты отмеченные звездочкой, обязательны для заполнения.