| ||||||
| № п/п | Наименование | Код детали | ||||
| 0 | Оборудование бульдозерное прямое | 011501-91-3СП(SP) | ||||
| 0 | Оборудование бульдозерное прямое | 011501-91-3-20СП(SP) | ||||
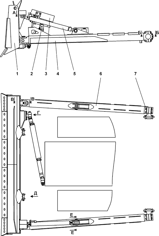
| 1 | Отвал | 011501-91-22СП(SP) | ||||
| 1 | Отвал | 011501-91-22-20СП | ||||
| 2 | Тяга поперечная | 011501-93-230СП(SP) | ||||
| 2 | Тяга поперечная | 011501-93-230-20СП | ||||
| 3 | Гидросистема бульдозерного оборудования | 011501-93-500СП(SP) | ||||
| 3 | Гидросистема бульдозерного оборудования | 011501-93-500-20СП | ||||
| 4 | Брус толкающий | 211512-93-200-01СП | ||||
| 4 | Брус толкающий | 211512-93-200-01-20СП | ||||
| 5 | Раскос винтовой | 011501-93-180СП(SP) | ||||
| 5 | Раскос винтовой | 011501-93-180-20СП | ||||
| 6 | Брус толкающий | 211512-93-200СП(SP) | ||||
| 6 | Брус толкающий | 211512-93-200-20СП | ||||
| 7 | Опора | 012001-92-170СП(SP) | ||||
| 7 | Опора | 012001-92-170-20СП | ||||
Обращаем Ваше внимание, что пункты отмеченные звездочкой, обязательны для заполнения.