| ||||||
| № п/п | Наименование | Код детали | ||||
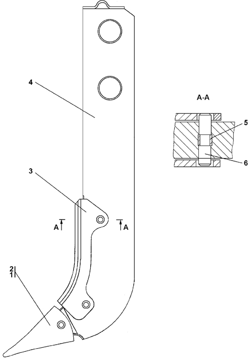
| 0 | Зуб* | 011501-97-120СП(SP) | ||||
| 0 | Зуб | 011501-97-120-20СП | ||||
| 0 | Зуб** | 011501-97-120-01СП | ||||
| 0 | Зуб | 011501-97-120-01-20СП | ||||
| 1 | Наконечник (допускается замена на поз.2) | 46-98-187 | ||||
| 1 | Наконечник | 46-98-187-20 | ||||
| 2 | Наконечник (допускается замена на поз.1) | 2501-98-190СП(SP) | ||||
| 2 | Наконечник | 2501-98-190-20СП(SP) | ||||
| 3 | Накладка | 2501-98-188 | ||||
| 3 | Накладка | 2501-98-188-20 | ||||
| 4 | Стойка* | 011501-97-180СП(SP) | ||||
| 4 | Стойка | 011501-97-180-20СП | ||||
| 4 | Стойка** | 011501-97-180-01СП | ||||
| 4 | Стойка | 011501-97-180-01-20СП | ||||
| 5 | Кольцо | 46-98-185 | ||||
| 5 | Кольцо | 46-98-185-20 | ||||
| 6 | Палец | 46-98-184 | ||||
| 6 | Палец | 46-98-184-20 | ||||
Обращаем Ваше внимание, что пункты отмеченные звездочкой, обязательны для заполнения.