| ||||||
| № п/п | Наименование | Код детали | ||||
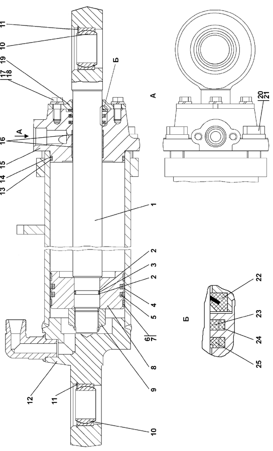
| 0 | Гидроцилиндр d160 | 011501-97-502СП(SP) | ||||
| 0 | Гидроцилиндр d160 | 011501-97-502-20СП | ||||
| 1 | Шток | 011501-93-601-11 | ||||
| 1 | Шток | 011501-93-601-11-20 | ||||
| 2 | Кольцо защитное | 46-93-607-02 | ||||
| 3 | Кольцо 040-048-46-2-51-1668 ТУ 2531-260-00149245-00 | - | ||||
| 4 | Кольцо уплотнительное | 46-26-1512 | ||||
| 5 | Кольцо 140-155-85-2-51-1668 ТУ 2531-260-00149245-00 | - | ||||
| 6 | Втулка опорная (допускается замена на поз.7) | 46-26-1509 | ||||
| 7 | Кольцо опорно-направляющее поршневое Е21Т-160-15-4,0 ТУ 2290-004-48774662-2002 (допускается замена на поз.6) | - | ||||
| 8 | Поршень | 012001-97-568-01 | ||||
| 9 | Гайка специальная | 312001-26-110-01 | ||||
| 10 | Подшипник ШСЛ60 ТУ 4649-020-05808824-2005 | - | ||||
| 11 | Кольцо С90 Ц9хр ГОСТ 13941-86 | 700-58-2278-10 | ||||
| 11 | Кольцо С90 Ц9хр ГОСТ 13941-86 | 700-58-2278-20 | ||||
| 12 | Корпус | 011501-97-503СП(SP) | ||||
| 13 | Кольцо 150-160-58-2-51-1668 ТУ 2531-260-00149245-00 | - | ||||
| 14 | Шайба защитная | 2601-26-27 | ||||
| 15 | Крышка | 012001-97-567 | ||||
| 16 | Кольцо опорно-направляющее штоковое Е22Т-063-30-2,5 ТУ 2290-004-48774662-2002 | - | ||||
| 17 | Болт М16?1,5-6g?38 ГОСТ 7796-70 | 28 0535 | ||||
| 17 | Болт М16?1,5-6g?38 ГОСТ 7796-70 | 28 0535-20 | ||||
| 18 | Шайба 16 ОТ ГОСТ 6402-70 | - | ||||
| 19 | Скребок | 312001-26-108 | ||||
| 20 | Болт М30?2-6g?90 ГОСТ 7796-70 | 28 0935 | ||||
| 20 | Болт М30?2-6g?90 ГОСТ 7796-70 | 28 0935-20 | ||||
| 21 | Шайба | 31 5412 | ||||
| 22 | Грязесъемник 3-d ГОСТ 24811-81 | 2501-93-506-04СП(SP) | ||||
| 23 | Кольцо уплотнительное | 312001-26-109-01 | ||||
| 24 | Кольцо 070-080-58-2-51-1668 ТУ 2531-260-00149245-00 | - | ||||
| 25 | Уплотнение штоковое Е01-063-12 ТУ 2290-001-48774662-2000 | - | ||||
Обращаем Ваше внимание, что пункты отмеченные звездочкой, обязательны для заполнения.