| ||||||
| № п/п | Наименование | Код детали | ||||
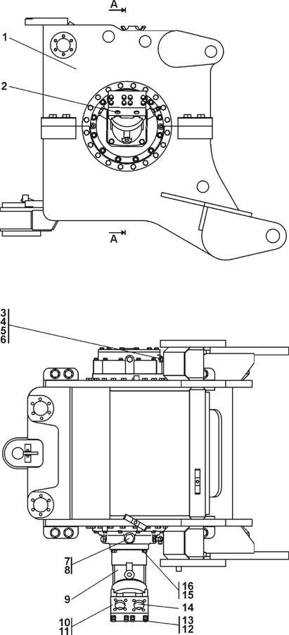
| 0 | Лебедка | 1501-96-10СП(SP) | ||||
| 0 | Лебедка | 1501-96-10-20СП(SP) | ||||
| 1 | Корпус лебедки | 1501-96-11СП(SP) | ||||
| 1 | Корпус лебедки | 1501-96-11-20СП(SP) | ||||
| 2 | Пробка | 37 5245 | ||||
| 2 | Пробка | 37 5245-20 | ||||
| 3 | Пробка защитная | 700-40-5067 | ||||
| 4 | Контргайка | Н.036.23.022 | ||||
| 4 | Контргайка | Н.036.23.022-01 | ||||
| 5 | Заглушка | 2501-26-294 | ||||
| 6 | Кольцо 018-022-25-2-51-1668 ТУ 2531-260-00149245-00 | 01000580474000 | ||||
| 7 | Пробка | 37 5952 | ||||
| 7 | Пробка | 37 5952-20 | ||||
| 8 | Кольцо 032-038-36-2-51-1668 ТУ 2531-260-00149245-00 | 01005805900000 | ||||
| 9 | Гидромотор 310.3.160.00.06 ТУ 22-1.020-100-95 | 00460265070000 | ||||
| 10 | Фланец | 1501-96-71 | ||||
| 10 | Фланец | 1501-96-71-20 | ||||
| 11 | Кольцо 042-050-46-2-51-1668 ТУ 2531-260-00149245-00 | 01000580642000 | ||||
| 12 | Шайба | 31 5220 | ||||
| 12 | Шайба | 31 5220-20 | ||||
| 13 | Болт М14-6g?115 ГОСТ 7796-70 | 28 0518 | ||||
| 13 | Болт М14-6g?115 ГОСТ 7796-70 | 28 0518-20 | ||||
| 14 | Заглушка | 44 0064 | ||||
| 15 | Шайба 16 ОТ ГОСТ 6402-70 | 01000310460100 | ||||
| 16 | Болт М16-6g?50 ГОСТ 7796-70 | 28 0551 | ||||
| 16 | Болт М16-6g?50 ГОСТ 7796-70 | 28 0551-20 | ||||
Обращаем Ваше внимание, что пункты отмеченные звездочкой, обязательны для заполнения.