| ||||||
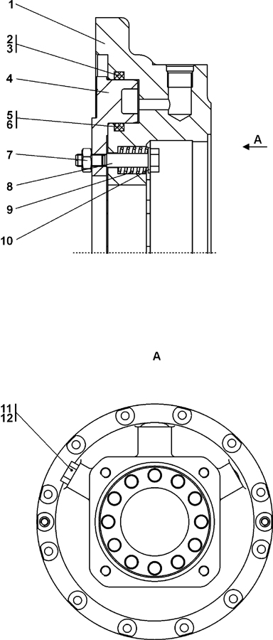
| № п/п | Наименование | Код детали | ||||
| 0 | Бустер | 1501-96-100СП(SP) | ||||
| 1 | Корпус | 1501-96-6 | ||||
| 2 | Кольцо уплотнительное QRAR 04451-№7004 Каталог QUAD-RING SEAL (допускается замена на поз.3) | - | ||||
| 3 | Кольцо уплотнительное QRAR 04451-№8004 каталог QUAD -RING SEAL (допускается замена на поз.2) | - | ||||
| 4 | Поршень | 1501-96-7 | ||||
| 5 | Кольцо уплотнительное QRAR 04444-№7004 Каталог QUAD -RING SEAL (допускается замена на поз.6) | - | ||||
| 6 | Кольцо уплотнительное QRAR 04444-№8004 Каталог QUAD -RING SEAL (допускается замена на поз.5) | - | ||||
| 7 | Гайка М10?1,25 ГОСТ 5915-70 | 30 5186 | ||||
| 8 | Болт специальный | 1501-96-43 | ||||
| 9 | Пружина | 38 5325 | ||||
| 10 | Шайба 10 ГОСТ 11371-78 | 31 0170 | ||||
| 11 | Пробка | 37 5331 | ||||
| 12 | Кольцо 018-022-25-2-51-1668 ТУ 2531-260-00149245-00 | - | ||||
Обращаем Ваше внимание, что пункты отмеченные звездочкой, обязательны для заполнения.