| ||||||
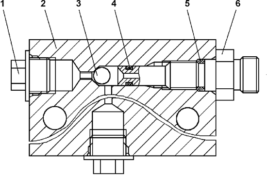
| № п/п | Наименование | Код детали | ||||
| 0 | Клапан | 3501-96-300СП(SP) | ||||
| 0 | Клапан | 3501-96-300-20СП(SP) | ||||
| 1 | Заглушка | 44 0057 | ||||
| 2 | Корпус | 3501-96-320 | ||||
| 2 | Корпус | 3601-96-320-20 | ||||
| 3 | Шарик Б10-100 ГОСТ 3722-81 | - | ||||
| 4 | Кольцо 007-011-25-2-51-1668 ТУ2531-260-00149245-00 | - | ||||
| 5 | Кольцо 014-018-25-2-51-1668 ТУ 2531-260-00149245-00 | - | ||||
| 6 | Направляющая | 3501-96-326 | ||||
| 6 | Направляющая | 3501-96-326-20 | ||||
Обращаем Ваше внимание, что пункты отмеченные звездочкой, обязательны для заполнения.