| ||||||
| № п/п | Наименование | Код детали | ||||
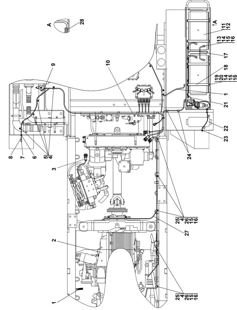
| 0 | Установка электрооборудования на раме | 1526-10-11СП(SP) | ||||
| 0 | Установка электрооборудования на раме | 1526-10-11-20СП(SP) | ||||
| 1 | Провод | 401-10-111-01СП(SP) | ||||
| 1 | Провод | 401-10-111-01-20СП | ||||
| 2 | Электрооборудование двигателя | 1506-10-12-02СП(SP) | ||||
| 2 | Электрооборудование двигателя | 1506-10-12-02-20СП | ||||
| 3 | Жгут | 1526-10-112СП(SP) | ||||
| 3 | Жгут | 1526-10-112-20СП | ||||
| 4 | Прокладка | 700-40-6684-06 | ||||
| 5 | Хомутик | 41 5090 | ||||
| 6 | Кольцо | 700-40-6695 | ||||
| 7 | Колодка гнездовая 602602 ОСТ 37.003.032-88 | - | ||||
| 8 | Провод | 2001-10-110-24СП(SP) | ||||
| 8 | Провод | 2001-10-110-24-20СП | ||||
| 9 | Колодка гнездовая 602601 ОСТ 37.003.032-88 | - | ||||
| 10 | Электрооборудование трансмиссии | 1526-10-15СП(SP) | ||||
| 10 | Электрооборудование трансмиссии | 1526-10-15-20СП(SP) | ||||
| 11 | Батарея СТ-190А ТУ16-729.384-83 (допускается замена на поз. 12) | - | ||||
| 12 | Батарея 6СТ-190АLЗМ (взамен поз. 11) | - | ||||
| 12 | Батарея 6СТ-190АLЗМ экспорт | - | ||||
| 13 | Болт М8-6g?35 ГОСТ 7796-70 | - | ||||
| 14 | Гайка М8 ГОСТ 5915-70 | - | ||||
| 15 | Шайба 8Т ГОСТ 6402-70 | - | ||||
| 16 | Шайба 8 ГОСТ 11371-78 | - | ||||
| 17 | Провод | 1106-10-154СП(SP) | ||||
| 18 | Угольник | 2001-10-7 | ||||
| 18 | Угольник | 2001-10-7-20 | ||||
| 19 | Стержень | 46-10-113 | ||||
| 19 | Стержень | 46-10-113-20 | ||||
| 20 | Стержень | 46-10-113-01 | ||||
| 20 | Стержень | 46-10-113-01-20 | ||||
| 21 | Электрооборудование контейнера АКБ | 1526-10-17СП(SP) | ||||
| 21 | Электрооборудование контейнера АКБ | 1526-10-17-20СП(SP) | ||||
| 22 | Электрооборудование контейнера отопителя | 1526-10-18СП(SP) | ||||
| 23 | Кольцо | 700-40-6736 | ||||
| 24 | Хомутик | 700-41-2548 | ||||
| 25 | Хомутик | 41 5119 | ||||
| 26 | Болт М8-6g?16 ГОСТ 7796-70 | - | ||||
| 27 | Провод | 2001-10-110СП(SP) | ||||
| 27 | Провод | 2001-10-110-20СП(SP) | ||||
| 28 | Прокладка | 40 0218-01 | ||||
| 28 | Прокладка | 40 0218-01-20 | ||||
Обращаем Ваше внимание, что пункты отмеченные звездочкой, обязательны для заполнения.