| ||||||
| № п/п | Наименование | Код детали | ||||
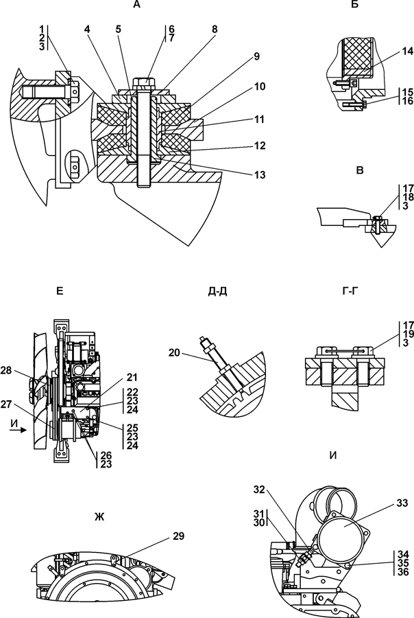
| 1 | Шайба | 31 5271 | ||||
| 1 | Шайба | 31 5271-20 | ||||
| 2 | Болт 3М16-6g?45 ГОСТ 7796-70 | 28 0543 | ||||
| 2 | Болт 3М16-6g?45 ГОСТ 7796-70 | 28 0543-20 | ||||
| 3 | Проволока 1,6-0-С ГОСТ 3282-74 | - | ||||
| 4 | Проставка | 0602-24-86 | ||||
| 4 | Проставка | 0602-24-86-20 | ||||
| 5 | Кольцо | 0602-24-88 | ||||
| 5 | Кольцо | 0602-24-88-20 | ||||
| 6 | Болт М16?1,5-6g?120 ГОСТ 7795-70 | 28 0575 | ||||
| 6 | Болт М16?1,5-6g?120 ГОСТ 7795-70 | 28 0575-20 | ||||
| 7 | Шайба 16 ОТ ГОСТ 6402-70 | - | ||||
| 8 | Шайба специальная | 0602-01-29 | ||||
| 8 | Шайба специальная | 0602-01-29-20 | ||||
| 9 | Амортизатор | 40 0449 | ||||
| 10 | Опора задняя | 1506-01-101СП(SP) | ||||
| 10 | Опора задняя | 1506-01-101-20СП(SP) | ||||
| 11 | Втулка | 0602-24-49 | ||||
| 11 | Втулка | 0602-24-49-20 | ||||
| 12 | Прижим | 0602-24-48 | ||||
| 12 | Прижим | 0602-24-48-20 | ||||
| 13 | Палец | 0602-24-90-01 | ||||
| 13 | Палец | 0602-24-90-01-20 | ||||
| 14 | Муфта упругая | 312001-20-2СП(SP) | ||||
| 14 | Муфта упругая | 312001-20-2-20СП(SP) | ||||
| 15 | Болт | 28 5010 | ||||
| 15 | Болт | 28 5010-20 | ||||
| 16 | Шайба 12 ОТ ГОСТ 6402-70 | - | ||||
| 17 | Шайба | 31 0225 | ||||
| 17 | Шайба | 31 0225-20 | ||||
| 18 | Болт 3М12?1,25-6g?45 ГОСТ 7796-70 | 28 0359-03 | ||||
| 18 | Болт 3М12?1,25-6g?45 ГОСТ 7796-70 | 28 0359-03-20 | ||||
| 19 | Болт 3М12-6g?30 ГОСТ 7796-70 | 28 0339 | ||||
| 19 | Болт 3М12-6g?30 ГОСТ 7796-70 | 28 0339-20 | ||||
| 20 | Датчик импульсный | 2506-10-103-01СП(SP) | ||||
| 20 | Датчик импульсный | 2506-10-103-01-20СП | ||||
| 21 | Кронштейн компрессора | 1506-01-103СП(SP) | ||||
| 21 | Кронштейн компрессора | 1506-01-103-20СП(SP) | ||||
| 22 | Болт М10-6g?40 ГОСТ 7796-70 | 28 0250 | ||||
| 22 | Болт М10-6g?40 ГОСТ 7796-70 | 28 0250-20 | ||||
| 23 | Шайба 10 ОТ ГОСТ 6402-70 | - | ||||
| 24 | Шайба 10 ГОСТ 11371-78 | 31 0170 | ||||
| 24 | Шайба 10 ГОСТ 11371-78 | 31 0170-20 | ||||
| 25 | Болт 3М10-6g?45 ГОСТ 7796-70 | 28 0266-04 | ||||
| 25 | Болт 3М10-6g?45 ГОСТ 7796-70 | 28 0266-04-20 | ||||
| 26 | Болт 3М10-6g?30 ГОСТ 7796-70 | 28 0240 | ||||
| 26 | Болт 3М10-6g?30 ГОСТ 7796-70 | 28 0240-20 | ||||
| 27 | Ремень А-1320III ГОСТ 1284.1-89 | - | ||||
| 27 | Ремень А-1320III Т IV-1-130 ГОСТ 1284.1-89 | - | ||||
| 28 | Муфта привода вентилятора V2118Y «Linnig»* | - | ||||
| 29 | Планка | 2501-10-10 | ||||
| 29 | Планка | 2501-10-10-20 | ||||
| 30 | Шайба 12?2 ГОСТ 11371-78 | 31 0210 | ||||
| 30 | Шайба 12?2 ГОСТ 11371-78 | 31 0210-20 | ||||
| 31 | Гайка М12?1,25 ГОСТ 5915-70 | - | ||||
| 32 | Упор | 2501-01-18СП(SP) | ||||
| 32 | Упор | 2501-01-18-20СП(SP) | ||||
| 33 | Компрессор кондиционера SD 5H14 | - | ||||
| 34 | Ось | 2501-01-21 | ||||
| 34 | Ось | 2501-01-21-20 | ||||
| 35 | Гайка М8 ГОСТ 5915-70 | - | ||||
| 36 | Шайба 8Т ГОСТ 6402-70 | - | ||||
Обращаем Ваше внимание, что пункты отмеченные звездочкой, обязательны для заполнения.