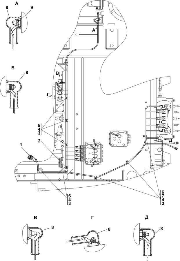
| ||||||
| № п/п | Наименование | Код детали | ||||
| 0 | Электрооборудование трансмиссии | 1526-10-15СП(SP) | ||||
| 1 | Жгут Тр | 1526-10-104СП(SP) | ||||
| 1 | Жгут Тр | 1526-10-104-20СП(SP) | ||||
| 2 | Хомутик | 41 5119 | ||||
| 3 | Шайба 8 ГОСТ 11371-78 | - | ||||
| 4 | Шайба 8Т ГОСТ 6402-70 | - | ||||
| 5 | Хомутик | 41 5090 | ||||
| 6 | Хомутик | 700-41-3179 | ||||
| 7 | Болт М8-6g?16 ГОСТ 7796-70 | - | ||||
| 8 | Наконечник | 700-40-5607 | ||||
| 9 | Шайба | ТТ2501-10-9 | ||||
Обращаем Ваше внимание, что пункты отмеченные звездочкой, обязательны для заполнения.