| ||||||
| № п/п | Наименование | Код детали | ||||
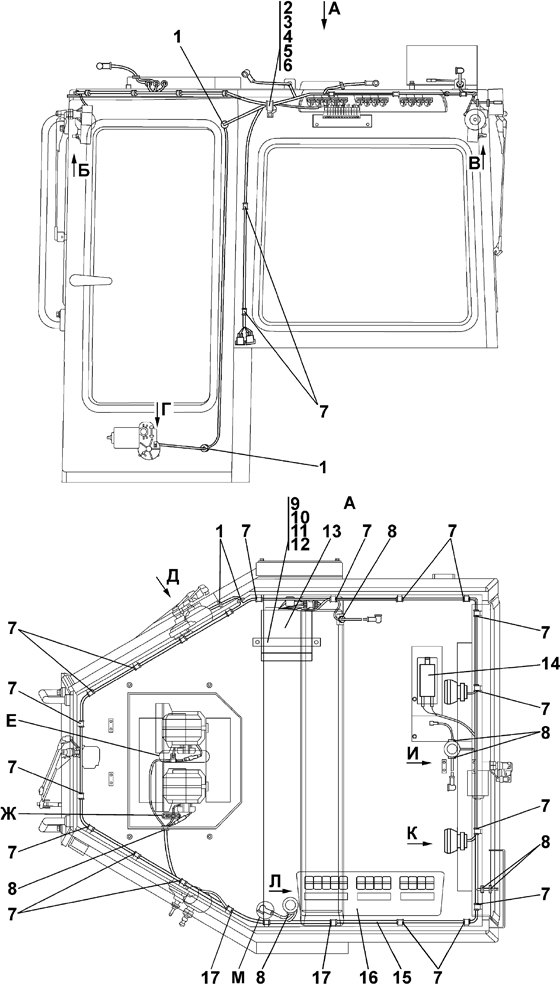
| 0 | Электрооборудование крыши кабины | 1102-10-13-01СП(SP) | ||||
| 0 | Электрооборудование крыши кабины | 1102-10-13-01-10СП | ||||
| 0 | Электрооборудование крыши кабины | 1102-10-13-01-20СП | ||||
| 1 | Кольцо | 700-40-6736 | ||||
| 2 | Прокладка | 700-40-6684-02 | ||||
| 3 | Хомутик | 700-41-3187 | ||||
| 4 | Болт М8-6g?16 ГОСТ 7796-70 | - | ||||
| 5 | Шайба 8Т ГОСТ 6402-70 | - | ||||
| 6 | Шайба 8 ГОСТ 11371-78 | 31 0150 | ||||
| 6 | Шайба 8 ГОСТ 11371-78 | 31 0150-20 | ||||
| 7 | Прокладка | 700-40-6684-05 | ||||
| 8 | Кольцо | 700-40-6695 | ||||
| 9 | Скоба | 1102-10-183СП(SP) | ||||
| 9 | Скоба | 1102-10-183-20СП | ||||
| 10 | Винт В.М6-6g?22 ГОСТ 17473-80 | - | ||||
| 11 | Шайба 6Т ГОСТ 6402-70 | - | ||||
| 12 | Шайба 6 ГОСТ 11371-78 | 31 0110 | ||||
| 12 | Шайба 6 ГОСТ 11371-78 | 31 0110-20 | ||||
| 13 | Автомагнитола | 1102-10-188СП(SP) | ||||
| 13 | Автомагнитола | 1102-10-188-20СП | ||||
| 14 | Светильник автотранспортный СИЕУ 453754.009-01 ТУ 4573-029-25616989-2004 | - | ||||
| 15 | Жгут | 1102-10-166СП(SP) | ||||
| 15 | Жгут | 1102-10-166-20СП(SP) | ||||
| 16 | Щиток выключателей | 1102-10-165СП(SP) | ||||
| 17 | Прокладка | 700-40-6684-04 | ||||
Обращаем Ваше внимание, что пункты отмеченные звездочкой, обязательны для заполнения.