8 (391) 285-35-15
8 (391) 259-62-06
8 (391) 259-62-49
 info@in124.ru
USD: 79,4495EUR: 93,2274
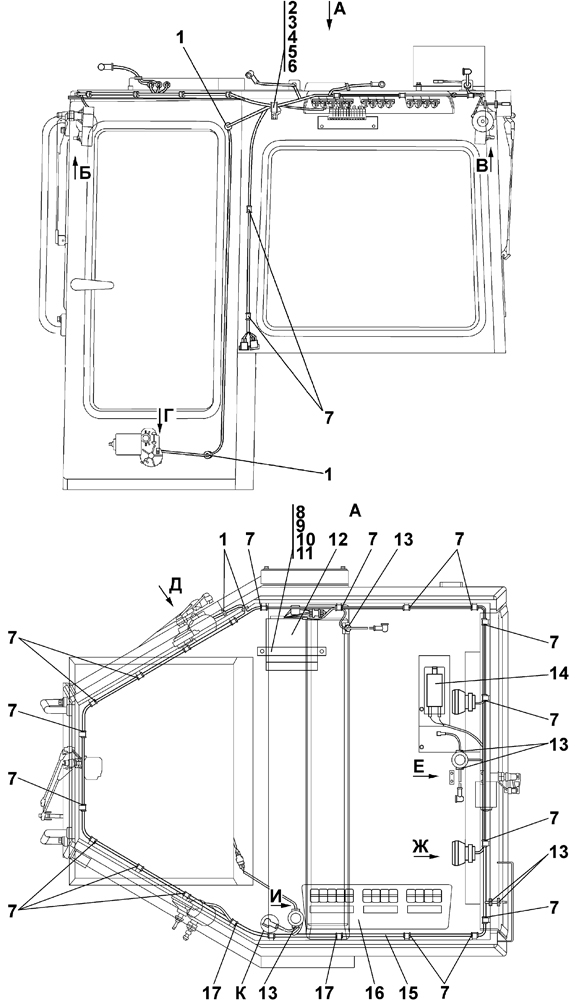
Электрооборудование крыши кабины
№ п/пНаименованиеКод детали
УХЛ
Т
У
0Электрооборудование крыши кабины1102-10-13-02СП(SP)
1
0
0
0Электрооборудование крыши кабины1102-10-13-02-10СП
0
0
1
0Электрооборудование крыши кабины1102-10-13-02-20СП
0
1
0
1Кольцо700-40-6736
4
4
4
2Прокладка700-40-6684-02
1
1
1
3Хомутик700-41-3187
1
1
1
4Болт М8-6g?16 ГОСТ 7796-70-
3
3
3
5Шайба 8Т ГОСТ 6402-70-
3
3
3
6Шайба 8 ГОСТ 11371-7831 0150
3
0
3
6Шайба 8 ГОСТ 11371-7831 0150-20
0
3
0
7Прокладка700-40-6684-05
21
21
21
8Скоба1102-10-183СП(SP)
1
0
1
8Скоба1102-10-183-20СП
0
1
0
9Винт В.М6-6g?22 ГОСТ 17473-80-
4
4
4
10Шайба 6Т ГОСТ 6402-70-
13
13
13
11Шайба 6 ГОСТ 11371-7831 0110
13
0
13
11Шайба 6 ГОСТ 11371-7831 0110-20
0
13
0
12Автомагнитола1102-10-188СП(SP)
1
0
1
12Автомагнитола1102-10-188-20СП
0
1
0
13Кольцо700-40-6695
8
8
8
14Светильник автотранспортный СИЕУ 453754.009-01 ТУ 4573-029-25616989-2004-
1
1
1
15Жгут1102-10-166-01СП
1
0
1
15Жгут1102-10-166-01-20СП
0
1
0
16Щиток выключателей1102-10-165-01СП
1
1
1
17Прокладка700-40-6684-04
2
2
2

© ООО Инженерные машины, 2016