| ||||||
| № п/п | Наименование | Код детали | ||||
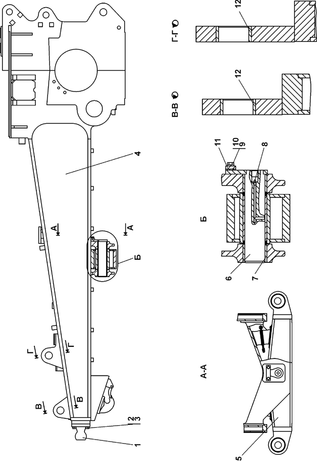
| 0 | Рама | 1512-11-2-06СП(SP) | ||||
| 0 | Рама | 1512-11-2-06-20СП(SP) | ||||
| 1 | Опора | 2501-11-46СП(SP) | ||||
| 1 | Опора | 2501-11-46-20СП(SP) | ||||
| 2 | Шайба | 31 5355 | ||||
| 3 | Болт М24?2-6g?60 ГОСТ 7796-70 | 28 0823-01 | ||||
| 3 | Болт М24?2-6g?60 ГОСТ 7796-70 | 28 0823-01-20 | ||||
| 4 | Корпус с лонжеронами | 1512-11-4-01СП(SP) | ||||
| 4 | Корпус с лонжеронами | 1512-11-4-01-20СП(SP) | ||||
| 5 | Балка | 1501-11-32СП(SP) | ||||
| 5 | Балка | 1501-11-32-20СП(SP) | ||||
| 6 | Палец | 1101-11-24-02СП(SP) | ||||
| 7 | Втулка | 0602-11-102-01 | ||||
| 8 | Масленка 1.2.Ц6хр ГОСТ 19853-74 | 49901200016000 | ||||
| 8 | Масленка 1.2.Кд6хр ГОСТ 19853-74 | 49901200016200 | ||||
| 9 | Шайба 16 ОТ ГОСТ 6402-70 | 01000310460100 | ||||
| 9 | Шайба 16 ОТ ГОСТ 6402-70 | 01000310460200 | ||||
| 10 | Болт М16-6g?30 ГОСТ 7796-70 | 28 0521 | ||||
| 10 | Болт М16-6g?30 ГОСТ 7796-70 | 28 0521-20 | ||||
| 11 | Планка | 46-98-2 | ||||
| 12 | Втулка | 403-55-346-01 | ||||
Обращаем Ваше внимание, что пункты отмеченные звездочкой, обязательны для заполнения.