| ||||||
| № п/п | Наименование | Код детали | ||||
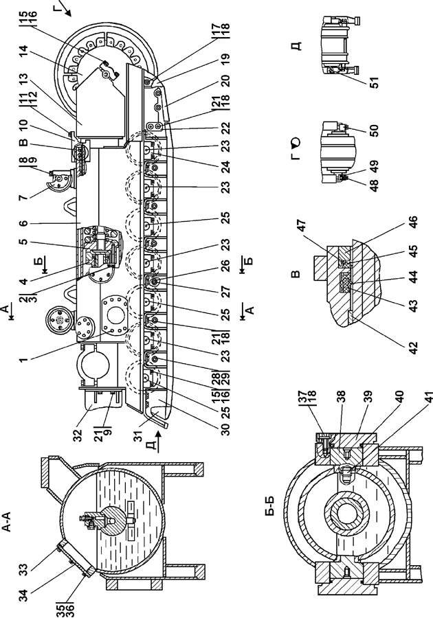
| 0 | Тележка полужесткая* | 1501-21-202СП(SP) | ||||
| 0 | Тележка полужесткая | 1501-21-202-20СП(SP) | ||||
| 0 | Тележка полужесткая** | 1501-21-203СП(SP) | ||||
| 0 | Тележка полужесткая | 1501-21-203-20СП(SP) | ||||
| 1 | Пробка | 700-40-5068 | ||||
| 2 | Болт М20?1,5-6g?120 ГОСТ 7796-70 | 28 0750 | ||||
| 2 | Болт М20?1,5-6g?120 ГОСТ 7796-70 | 28 0750-20 | ||||
| 3 | Шайба 20 ОТ ГОСТ 6402-70 | - | ||||
| 4 | Механизм натяжения** | 1101-21-43-02СП(SP) | ||||
| 4 | Механизм натяжения | 1101-21-43-02-20СП | ||||
| 4 | Механизм натяжения* | 1101-21-43-03СП(SP) | ||||
| 4 | Механизм натяжения | 1101-21-43-03-20СП | ||||
| 5 | Механизм сдавания | 1501-21-37СП(SP) | ||||
| 5 | Механизм сдавания | 1501-21-37-20СП(SP) | ||||
| 6 | Рама тележки* | 1501-21-214СП(SP) | ||||
| 6 | Рама тележки | 1501-21-214-20СП(SP) | ||||
| 6 | Рама тележки** | 1501-21-215СП(SP) | ||||
| 6 | Рама тележки | 1501-21-215-20СП(SP) | ||||
| 7 | Каток поддерживающий | 1501-21-10СП(SP) | ||||
| 7 | Каток поддерживающий | 1501-21-10-20СП(SP) | ||||
| 8 | Болт М16?1,5-6g?170 ГОСТ 7795-70 | 28 0580 | ||||
| 8 | Болт М16?1,5-6g?170 ГОСТ 7795-70 | 28 0580-20 | ||||
| 9 | Шайба 16 ОТ ГОСТ 6402-70 | - | ||||
| 10 | Кожух | 1501-21-220 | ||||
| 10 | Кожух | 1501-21-220-20 | ||||
| 11 | Болт М12-6g?20 ГОСТ 7796-70 | - | ||||
| 12 | Шайба 12 ГОСТ 6958-78 | 31 0230 | ||||
| 12 | Шайба 12 ГОСТ 6958-78 | 31 0230-20 | ||||
| 13 | Рама тележки передняя | 1501-21-209СП(SP) | ||||
| 13 | Рама тележки передняя | 1501-21-209-20СП(SP) | ||||
| 14 | Колесо натяжное | 1501-21-45СП(SP) | ||||
| 14 | Колесо натяжное | 1501-21-45-20СП(SP) | ||||
| 15 | Шайба | 31 5317 | ||||
| 15 | Шайба | 31 5317-20 | ||||
| 16 | Болт М20-6g?85 ГОСТ 7796-70 | 28 0742 | ||||
| 16 | Болт М20-6g?85 ГОСТ 7796-70 | 28 0742-20 | ||||
| 17 | Болт М16-6g?30 ГОСТ 7796-70 | 28 0521 | ||||
| 17 | Болт М16-6g?30 ГОСТ 7796-70 | 28 0521-20 | ||||
| 18 | Шайба | 31 5271 | ||||
| 18 | Шайба | 31 5271-20 | ||||
| 19 | Отбойник | 1101-21-97 | ||||
| 19 | Отбойник | 1101-21-97-20 | ||||
| 20 | Отбойник | 1101-21-96 | ||||
| 20 | Отбойник | 1101-21-96-20 | ||||
| 21 | Болт М16-6g?45 ГОСТ 7796-70 | - | ||||
| 22 | Накладка | 2501-21-244 | ||||
| 22 | Накладка | 2501-21-244-20 | ||||
| 23 | Каток опорный | 1501-21-44-02СП(SP) | ||||
| 23 | Каток опорный | 1501-21-44-02-20СП | ||||
| 24 | Крышка | 311502-21-25 | ||||
| 25 | Каток опорный | 1501-21-44-03СП(SP) | ||||
| 25 | Каток опорный | 1501-21-44-03-20СП | ||||
| 26 | Втулка | 1501-21-237 | ||||
| 27 | Стяжка | 1101-21-190-01 | ||||
| 27 | Стяжка | 1101-21-190-01-20 | ||||
| 28 | Гайка М20?1,5 ГОСТ 5915-70 | 30 0310 | ||||
| 28 | Гайка М20?1,5 ГОСТ 5915-70 | 30 0310-20 | ||||
| 29 | Шайба 20?4 ГОСТ 11371-78 | 31 0310 | ||||
| 29 | Шайба 20?4 ГОСТ 11371-78 | 31 0310-20 | ||||
| 30 | Щиток** | 1501-21-231СП(SP) | ||||
| 30 | Щиток | 1501-21-231-20СП(SP) | ||||
| 30 | Щиток* | 1501-21-231-01СП(SP) | ||||
| 30 | Щиток | 1501-21-231-01-20СП | ||||
| 31 | Щиток* | 1501-21-232СП(SP) | ||||
| 31 | Щиток | 1501-21-232-20СП(SP) | ||||
| 31 | Щиток** | 1501-21-232-01СП(SP) | ||||
| 31 | Щиток | 1501-21-232-01-20СП | ||||
| 32 | Отбойник** | 1501-21-229СП(SP) | ||||
| 32 | Отбойник | 1501-21-229-20СП(SP) | ||||
| 32 | Отбойник* | 1501-21-229-01СП(SP) | ||||
| 32 | Отбойник | 1501-21-229-01-20СП | ||||
| 33 | Прокладка | 45 0337 | ||||
| 33 | Прокладка | 45 0337-20 | ||||
| 34 | Крышка | 0901-21-71 | ||||
| 35 | Болт М8-6g?16 ГОСТ 7796-70 | - | ||||
| 36 | Шайба 8Т ГОСТ 6402-70 | - | ||||
| 37 | Болт М16?1,5-g?38 ГОСТ 7796-70 | 28 0535 | ||||
| 37 | Болт М16?1,5-g?38 ГОСТ 7796-70 | 28 0535-20 | ||||
| 38 | Вкладыш | 1501-21-68-01 | ||||
| 39 | Крышка | 1501-21-65 | ||||
| 40 | Кольцо 088-095-46-2-51-1668 ГОСТ 18829-73/ТУ 38.005.204-84 | - | ||||
| 41 | Стопор | 1501-21-227 | ||||
| 42 | Втулка | 1501-21-99 | ||||
| 43 | Кольцо упругое | 40 0467 | ||||
| 44 | Манжета | 1101-21-63 | ||||
| 45 | Манжета | 1101-21-62 | ||||
| 46 | Каркас | 1101-21-64 | ||||
| 47 | Кольцо упругое | 40 0466 | ||||
| 48 | Штифт | 32 0260 | ||||
| 49 | Крышка | 1501-21-55 | ||||
| 49 | Крышка | 1501-21-55-20 | ||||
| 50 | Крышка | 1501-21-57 | ||||
| 50 | Крышка | 1501-21-57-20 | ||||
| 51 | Штифт | 32 5381 | ||||
Обращаем Ваше внимание, что пункты отмеченные звездочкой, обязательны для заполнения.