8 (391) 285-35-15
8 (391) 259-62-06
8 (391) 259-62-49
 info@in124.ru
USD: 79,4495EUR: 93,2274
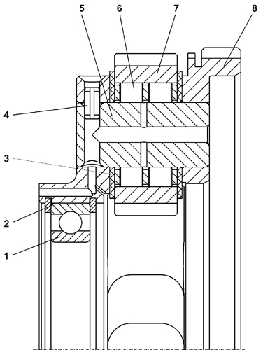
Водило
№ п/пНаименованиеКод детали
УХЛ
Т
У
0Водило2001-12-118СП(SP)
1
0
0
0Водило2001-12-118-20СП(SP)
0
1
0
1Подшипник 6-1000922Л ГОСТ 8338-75-
1
1
0
1или-
-
-
0
1Подшипник 61922МА.Р6Q6-
1
1
0
2Кольцо С150 ГОСТ 13941-86580850
2
2
0
3Кольцо упорное2001-12-27
6
6
0
4Штифт2001-12-111СП(SP)
3
3
0
5Ось2001-12-28
3
3
0
6Подшипник 6-252807Д-
3
3
0
7Сателлит2001-12-26
3
3
0
8Водило2001-12-44
1
1
0

© ООО Инженерные машины, 2016