| ||||||
| № п/п | Наименование | Код детали | ||||
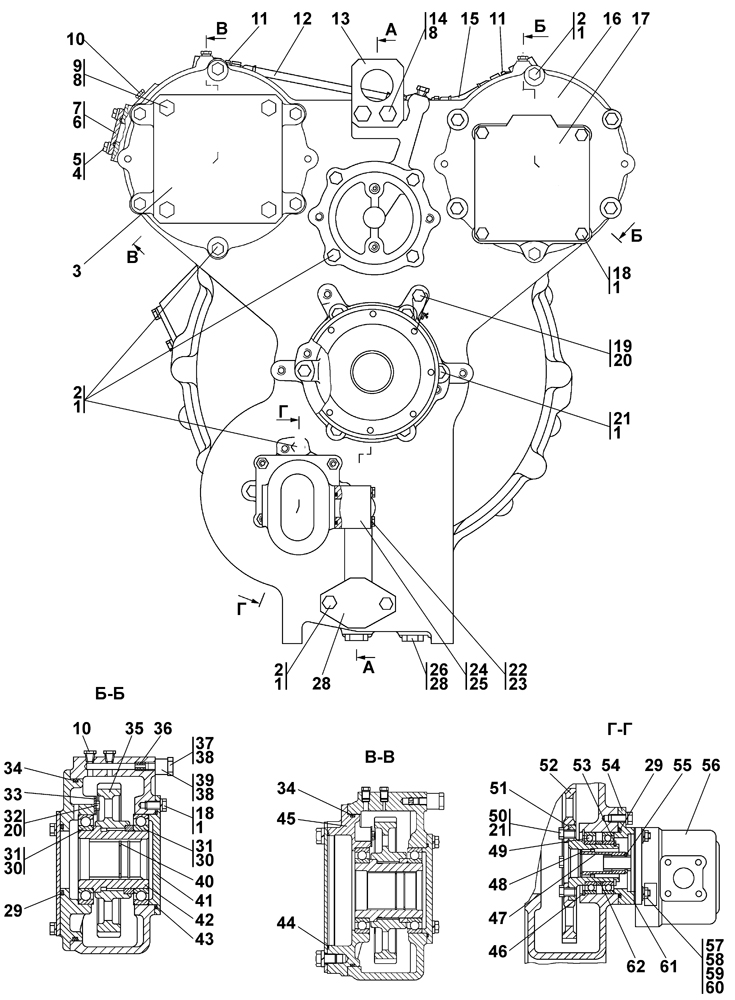
| 0 | Гидротрансформатор с редуктором привода насосов | 2001-14-1-02СП(SP) | ||||
| 0 | Гидротрансформатор с редуктором привода насосов | 2001-14-1-02-20СП(SP) | ||||
| 1 | Шайба 12 ОТ ГОСТ 6402-70 | - | ||||
| 2 | Болт М12-6g?30 ГОСТ 7796-70 | - | ||||
| 3 | Крышка | 2001-14-55 | ||||
| 4 | Шайба 10 ОТ ГОСТ 6402-70 | - | ||||
| 5 | Болт М10-6g?25 ГОСТ 7796-70 | 28 0230 | ||||
| 5 | Болт М10-6g?25 ГОСТ 7796-70 | 28 0230-20 | ||||
| 6 | Кольцо 039-045-36-2-51-1668 ТУ 2531-260-00149245-00 | - | ||||
| 7 | Крышка | 2001-14-30 | ||||
| 8 | Шайба 16 ОТ ГОСТ 6402-70 | - | ||||
| 9 | Болт М16?1,5-6g?25 ГОСТ 7796-70 | 28 0515 | ||||
| 9 | Болт М16?1,5-6g?25 ГОСТ 7796-70 | 28 0515-20 | ||||
| 10 | Пробка КГ 1/4? ТУ 23.1.506-91 | 37 0250-08 | ||||
| 11 | Штуцер | 2701-12-44 | ||||
| 11 | Штуцер | 2701-12-44-20 | ||||
| 12 | Рукав | 2501-20-113СП(SP) | ||||
| 12 | Рукав | 2501-20-113-20СП(SP) | ||||
| 13 | Кронштейн | 2001-14-34 | ||||
| 14 | Болт М16?1,5-6g?38 | 28 0535 | ||||
| 14 | Болт М16?1,5-6g?38 | 28 0535-20 | ||||
| 15 | Рукав | 2501-20-113-07СП(SP) | ||||
| 15 | Рукав | 2501-20-113-07-20СП | ||||
| 16 | Крышка | 2001-14-6-01 | ||||
| 17 | Крышка | 2501-20-33 | ||||
| 17 | Крышка | 2501-20-33-20 | ||||
| 18 | Болт М12-6g?25 ГОСТ 7796-70 | - | ||||
| 19 | Болт | 28 5330 | ||||
| 20 | Проволока 1,6-0-С ГОСТ 3282-74 | - | ||||
| 21 | Болт М12-6g?35 ГОСТ 7796-70 | - | ||||
| 22 | Болт М8-6g?75 ГОСТ 7796-70 | 28 0165 | ||||
| 22 | Болт М8-6g?75 ГОСТ 7796-70 | 28 0165-20 | ||||
| 23 | Шайба 8Т ГОСТ 6402-70 | - | ||||
| 24 | Фланец | 2001-14-57 | ||||
| 25 | Кольцо 045-050-30-2-51-1668 ТУ 2531-260-00149245-00 | - | ||||
| 26 | Пробка | 37 5625 | ||||
| 26 | Пробка | 37 5625-20 | ||||
| 27 | Кольцо 016-020-25-2-51-1668 ТУ 2531-260-00149245-00 | - | ||||
| 28 | Крышка | 2001-14-27 | ||||
| 29 | Кольцо 104-110-36-2-51-1668 ТУ 2531-260-00149245-00 | - | ||||
| 30 | Подшипник 118Л ГОСТ 8338-75 (допускается замена на поз. 32) | - | ||||
| 31 | Подшипник 118 (взамен поз. 31) ГОСТ 8338-75 | - | ||||
| 32 | Болт | 28 5120 | ||||
| 33 | Планка | 2001-14-39 | ||||
| 34 | Кольцо 240-250-58-2-51-1668 ТУ 2531-260-00149245-00 | - | ||||
| 35 | Шестерня | 2001-14-16СП(SP) | ||||
| 36 | Пробка | 2001-14-16 | ||||
| 37 | Болт зажимной | 2701-12-45 | ||||
| 37 | Болт зажимной | 2701-12-45-20 | ||||
| 38 | Кольцо 018-022-25-2-51-1668 ТУ 2531-260-00149245-00 | - | ||||
| 39 | Угольник | 2501-20-57-01 | ||||
| 40 | Кольцо С60 ГОСТ 13940-86 | 58 0609 | ||||
| 41 | Крышка | 2001-14-26 | ||||
| 42 | Вал | 2001-14-53 | ||||
| 43 | Кольцо 150-155-36-2-51-1668 ТУ 2531-260-00149245-00 | - | ||||
| 44 | Кольцо 190-195-36-2-51-1668 ТУ2531-260-00149245-00 | - | ||||
| 45 | Крышка | 312001-14-1 | ||||
| 46 | Кольцо С95 ГОСТ 13941-86 | 58 0721 | ||||
| 47 | Муфта | 2001-14-47 | ||||
| 48 | Кольцо С36 ГОСТ 13941-86 | 58 0320 | ||||
| 49 | Подшипник 112 ГОСТ 8338-75 | - | ||||
| 50 | Болт | 28 5320 | ||||
| 51 | Фланец | 2001-14-22 | ||||
| 52 | Шестерня | 2001-14-20 | ||||
| 53 | Кольцо С60 ГОСТ 13941-86 | 700-58-2088 | ||||
| 54 | Крышка | 2001-14-21 | ||||
| 55 | Кольцо С25 ГОСТ 13940-86 | 700-58-2332 | ||||
| 56 | Насос НШ32УК-3 ГСТУ 3-25-180-97 | - | ||||
| 56 | Насос НШ32УК-3Т ГСТУ 3-25-180-97 | - | ||||
| 57 | Шпилька | 59 5220 | ||||
| 57 | Шпилька | 59 5220-20 | ||||
| 58 | Шайба 10 ГОСТ 6402-70 | - | ||||
| 59 | Шайба 10 ГОСТ 10450-78 | 31 0180 | ||||
| 59 | Шайба 10 ГОСТ 10450-78 | 31 0180-20 | ||||
| 60 | Гайка М10 ГОСТ 5915-70 | - | ||||
| 61 | Прокладка | 45 0302 | ||||
| 62 | Кольцо | 2001-14-40 | ||||
Обращаем Ваше внимание, что пункты отмеченные звездочкой, обязательны для заполнения.