| ||||||
| № п/п | Наименование | Код детали | ||||
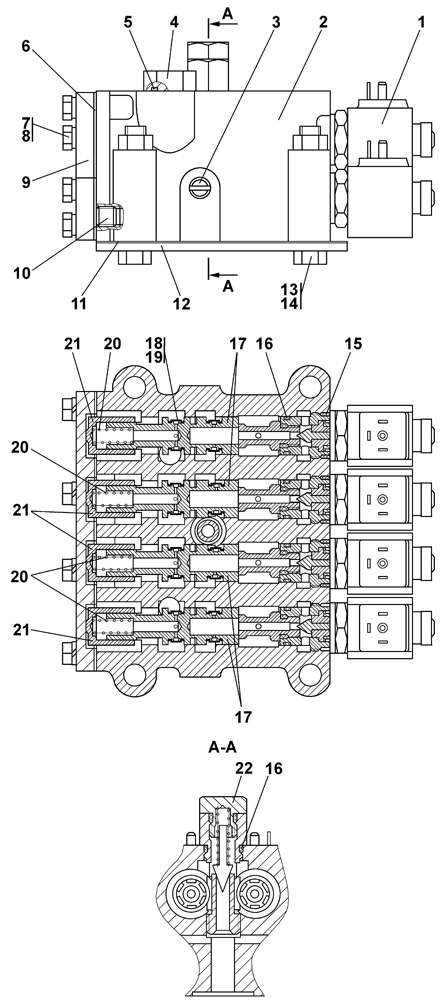
| 0 | Клапан | 313512-15-1СП(SP) | ||||
| 0 | Клапан | 313512-15-1-20СП(SP) | ||||
| 1 | Клапан | 313512-15-2СП(SP) | ||||
| 1 | Клапан | 313512-15-2-20СП | ||||
| 2 | Корпус | 313512-15-1 | ||||
| 2 | Корпус | 313512-15-1-20 | ||||
| 3 | Пробка 3-КГ ?? ТУ 23.1.506-91* | 37 0260 | ||||
| 4 | Пробка | 37 5331 | ||||
| 4 | Пробка | 37 5331-20 | ||||
| 5 | Кольцо 018-022-25-2-51-1668 ТУ 2531-260-00149245-00 | 253111040047 | ||||
| 6 | Прокладка | 45 0349 | ||||
| 6 | Прокладка | 45 0349-20 | ||||
| 7 | Болт М8-6g?25 ГОСТ 7796-70 | - | ||||
| 8 | Шайба 8Т ГОСТ 6402-70 | - | ||||
| 9 | Крышка | 31 3512-15-6 | ||||
| 10 | Пробка | 700-37-2182-01 | ||||
| 11 | Прокладка* | 45 0329 | ||||
| 12 | Крышка | 1501-15-71 | ||||
| 13 | Болт М12-6g?75* ГОСТ 7796-70 | 28 0366 | ||||
| 14 | Гайка М12* ГОСТ 5915-70 | - | ||||
| 15 | Кольцо 024-028-25-2-51-1668 ТУ 2531-260-00149245-00 | 253111040049 | ||||
| 16 | Кольцо 019-023-25-2-51-1668 ТУ 2531-260-00149245-00 | 253111040003 | ||||
| 17 | Золотник | 313512-15-3 | ||||
| 18 | Сетка полутомпа-ковая 0355Н ГОСТ 6613-86 76+2?14±1 | 313512-15-9 | ||||
| 19 | Проволока 0,6-О-С ГОСТ 3282-74 | - | ||||
| 20 | Пружина | 38 5111 | ||||
| 21 | Поршень | 313512-15-5 | ||||
| 22 | Клапан | 313512-15-4СП(SP) | ||||
| 22 | Клапан | 313512-15-4-20СП | ||||
Обращаем Ваше внимание, что пункты отмеченные звездочкой, обязательны для заполнения.