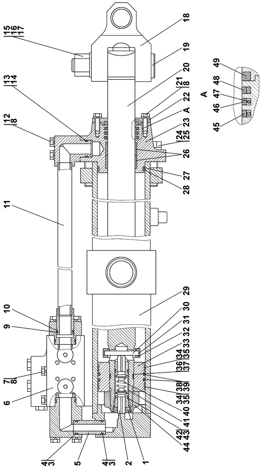
| ||||||
| № п/п | Наименование | Код детали | ||||
| 0 | Гидроцилиндр | 1501-26-501-03СП(SP) | ||||
| 0 | Гидроцилиндр | 1501-26-501-03-20СП | ||||
| 1 | Заглушка | 1501-26-622 | ||||
| 2 | Клапан | 1501-26-507СП(SP) | ||||
| 3 | Кольцо защитное | 2701-28-158 | ||||
| 4 | Кольцо 025-030-30-2-51-1668 ТУ 2531-260-00149245-00 | - | ||||
| 5 | Втулка | 1501-26-619 | ||||
| 5 | Втулка | 1501-26-619-20 | ||||
| 6 | Устройство перепускное | 1501-26-508СП(SP) | ||||
| 6 | Устройство перепускное | 1501-26-508-20СП | ||||
| 7 | Болт 3М12?1,25-6g?105 ГОСТ 7796-70 | 28 0391 | ||||
| 7 | Болт 3М12?1,25-6g?105 ГОСТ 7796-70 | 28 0391-20 | ||||
| 8 | Шайба 12 ОТ ГОСТ 6402-70 | - | ||||
| 9 | Кольцо 030-035-30-2-ИРП-1314-1 ГОСТ 18829-73/ТУ 38.005.204-84 | - | ||||
| 10 | Кольцо уплотнительное | 46-26-1546 | ||||
| 11 | Трубопровод | 1501-26-504-02СП | ||||
| 11 | Трубопровод | 1501-26-504-02-20СП | ||||
| 12 | Болт М12?1,25-6g?80 ГОСТ 7795-70 | 28 0385 | ||||
| 12 | Болт М12?1,25-6g?80 ГОСТ 7795-70 | 28 0385-20 | ||||
| 13 | Кольцо защитное | 2501-98-550 | ||||
| 14 | Кольцо 032-038-36-2-51-1668 ТУ 2531-260-00149245-00 | - | ||||
| 15 | Гайка М30?2 ГОСТ 5918-73 | 30 0431 | ||||
| 15 | Гайка М30?2 ГОСТ 5918-73 | 30 0431-20 | ||||
| 16 | Шплинт 6,3?71 ГОСТ 397-79 | - | ||||
| 17 | Шайба 30 ГОСТ 11371-78 | 31 0410-01 | ||||
| 17 | Шайба 30 ГОСТ 11371-78 | 31 0410-01-20 | ||||
| 18 | Проушина | 1101-26-678 | ||||
| 19 | Палец | 1501-26-509СП(SP) | ||||
| 20 | Шток | 1101-26-676-03 | ||||
| 20 | Шток | 1101-26-676-03-20 | ||||
| 21 | Болт М12?1,25-6g?25 ГОСТ 7796-70 | - | ||||
| 22 | Скребок | 1501-26-616-01 | ||||
| 23 | Крышка | 1501-26-640 | ||||
| 24 | Болт М24?2-6g?70 ГОСТ 7796-70 | 28 0830 | ||||
| 24 | Болт М24?2-6g?70 ГОСТ 7796-70 | 28 0830-20 | ||||
| 25 | Шайба 24Т ГОСТ 6402-70 | - | ||||
| 26 | Кольцо опорно-направляющее штоковое Е22Т-063-30-2,5 ТУ 2290-004-48774662-2002 | - | ||||
| 27 | Кольцо защитное | 1501-26-629 | ||||
| 28 | Кольцо 100-110-58-2-ИРП 1314-1 ГОСТ 18829-73/ТУ 38.005.204-84 | - | ||||
| 29 | Корпус | 1501-26-502-03СП | ||||
| 29 | Корпус | 1501-26-502-03-20СП | ||||
| 30 | Палец | 1501-26-625 | ||||
| 31 | Кольцо | 58 5761 | ||||
| 32 | Втулка | 1501-26-624 | ||||
| 33 | Поршень | 1501-26-611 | ||||
| 34 | Втулка опорная (допускается замена на поз.35) | 1501-26-612 | ||||
| 35 | Поршневое опорно-направляющее кольцо Е21Т-110-12-3,0 ТУ 2290-004-48774662-2002 (допускается замена на поз.34) | - | ||||
| 36 | Шайба защитная | 44 0005 | ||||
| 37 | Кольцо 042-050-46-2-51-1668 ТУ 2531-260-00149245-00 | - | ||||
| 38 | Кольцо уплотнительное | 1501-26-613 | ||||
| 39 | Кольцо 090-100-58-2-51-1668 ТУ 2531-260-00149245-00 | - | ||||
| 40 | Пружина | 38 327 | ||||
| 41 | Проставка | 1501-26-623 | ||||
| 42 | Кольцо защитное | 46-93-607-01 | ||||
| 43 | Кольцо 026-032-36-2-51-1668 ТУ 2531-260-00149245-00 | - | ||||
| 44 | Гайка специальная | 1101-26-615 | ||||
| 45 | Уплотнение штоковое Е01-063-12 ТУ 2290-001-48774662-2000 | - | ||||
| 46 | Кольцо уплотнительное | 312001-26-109-01 | ||||
| 47 | Кольцо 070-080-58-2-51-1668 ТУ 2531-260-00149245-00 | - | ||||
| 48 | Грязесъемник Е50-А-063-72 ТУ 2290-005-48774662-2002 | - | ||||
| 49 | Грязесъемник 3-d ГОСТ 24811-81 | 2501-93-506-04СП(SP) | ||||
Обращаем Ваше внимание, что пункты отмеченные звездочкой, обязательны для заполнения.