| ||||||
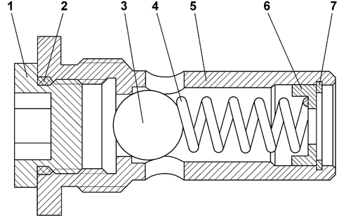
| № п/п | Наименование | Код детали | ||||
| 0 | Клапан | 1101-16-112СП(SP) | ||||
| 0 | Клапан | 1101-16-112-20СП(SP) | ||||
| 1 | Пробка | 37 5920 | ||||
| 1 | Пробка | 37 5920-20 | ||||
| 2 | Кольцо 026-032-36-2-51-1668 ТУ 2531-260-00149245-00 | - | ||||
| 3 | Шарик Б22,225-200 ГОСТ 3722-81 | - | ||||
| 4 | Пружина | 38 5479 | ||||
| 5 | Корпус | 1101-16-32 | ||||
| 6 | Втулка | 1101-16-33 | ||||
| 7 | Кольцо С26 ГОСТ 13941-86 | 58 0255 | ||||
Обращаем Ваше внимание, что пункты отмеченные звездочкой, обязательны для заполнения.