8 (391) 285-35-15
8 (391) 259-62-06
8 (391) 259-62-49
 info@in124.ru
USD: 79,4495EUR: 93,2274
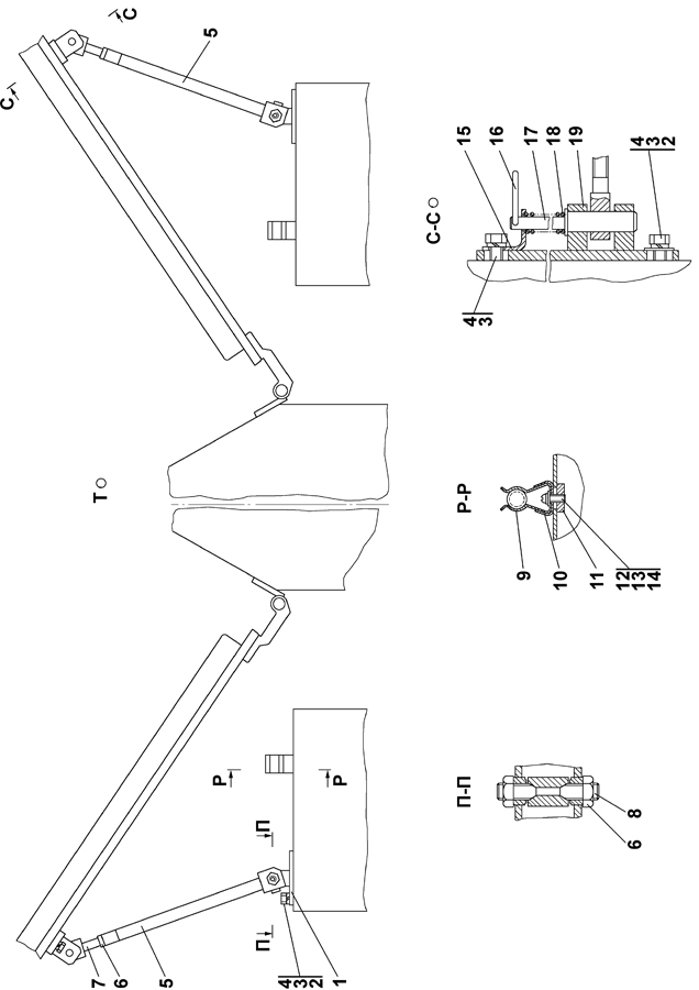
Кабина
№ п/пНаименованиеКод детали
УХЛ
Т
У
1Кронштейн2501-59-159СП(SP)
2
0
2
1Кронштейн2501-59-159-20СП(SP)
0
2
0
2Шайба 10 ГОСТ 11371-78-
10
10
10
3Шайба 10 ОТ ГОСТ 6402-70-
14
14
14
4Болт М10-6g?30 ГОСТ 7796-70-
12
12
12
5Тяга2501-59-172СП(SP)
2
0
2
5Тяга2501-59-172-20СП(SP)
0
2
0
6Гайка М12?1,25 ГОСТ 15521-7030 0215-01
6
0
6
6Гайка М12?1,25 ГОСТ 15521-7030 0215-01-20
0
6
0
7Наконечник1101-59-102СП(SP)
2
0
2
7Наконечник1101-59-102-20СП(SP)
0
2
0
8Винт2501-59-185
4
0
4
8Винт2501-59-185-20
0
4
0
9Скоба2501-89-31
5
0
5
9Скоба2501-89-31-20
0
5
0
10Упор2501-89-188
5
5
5
11Планка1101-59-10
2
0
2
11Планка1101-59-10-20
0
2
0
12Винт В.М5-6g?16 ГОСТ 17473-80-
10
10
10
13Шайба 5 ГОСТ 6402-70-
24
24
24
14Шайба 5 ГОСТ 11371-7831 0080
24
0
24
14Шайба 5 ГОСТ 11371-7831 0080-20
0
24
0
15Уголок1101-59-4
2
0
2
15Уголок1101-59-4-20
0
2
0
16Кольцо46-43-105-01
2
0
2
16Кольцо46-43-105-10
0
2
0
17Стержень1101-59-3
2
0
2
17Стержень1101-59-3-20
0
2
0
18Пружина700-38-2517-01
2
0
2
18Пружина700-38-2517-20
0
2
0
19Кронштейн1101-59-101СП(SP)
2
0
2
19Кронштейн1101-59-101-20СП(SP)
0
2
0

© ООО Инженерные машины, 2016