8 (391) 285-35-15
8 (391) 259-62-06
8 (391) 259-62-49
 info@in124.ru
USD: 79,4495EUR: 93,2274
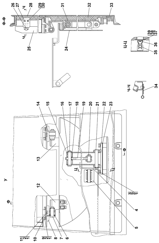
Кабина
№ п/пНаименованиеКод детали
УХЛ
Т
У
1Шайба 8 ГОСТ 11371-78-
14
14
14
2Шайба 8Т ГОСТ 6402-70-
8
8
8
3Болт М8-6g?30 ГОСТ 7796-70-
2
2
2
4Торсион2501-89-93
1
1
1
5Крышка2501-89-30
2
0
2
5Крышка2501-89-30-20
0
2
0
6Шайба2501-89-27
4
4
4
7Ось2501-89-28-01
2
2
2
8Кронштейн2501-89-156СП(SP)
2
0
2
8Кронштейн2501-89-156-20СП(SP)
0
2
0
9Болт М8-6g?20 ГОСТ 7796-70-
8
8
8
10Кронштейн2501-89-26-01
1
0
1
10Кронштейн2501-89-26-01-20
0
1
0
11Болт М8-6g?16 ГОСТ 7796-70-
4
4
4
12Кронштейн2501-89-106СП(SP)
1
0
1
12Кронштейн2501-89-106-20СП(SP)
0
1
0
13Кронштейн2501-89-106-01СП(SP)
1
0
1
13Кронштейн2501-89-106-01-20СП
0
1
0
14Кронштейн2501-89-26
1
0
1
14Кронштейн2501-89-26-20
0
1
0
15Втулка2501-89-206
2
2
2
16Шайба31 5185
5
0
5
16Шайба31 5185-20
0
5
0
17Ось2501-89-28-02
1
1
1
18Шайба 16 ГОСТ 11371-78-
11
11
11
19Штанга2501-89-29
1
0
1
19Штанга2501-89-29-20
0
1
0
20Ось2501-89-28
1
1
1
21Ось2501-89-92
1
1
1
22Кронштейн2501-89-155СП(SP)
1
0
1
22Кронштейн2501-89-155-20СП(SP)
0
1
0
23Пластина2501-89-34
3
3
3
24Каркас3501-24-166СП(SP)
1
0
1
24Каркас3501-24-166-20СП(SP)
0
1
0
25Каркас2501-89-140СП(SP)
1
0
1
25Каркас2501-89-140-20СП(SP)
0
1
0
26Пружина2501-89-32
2
2
2
27Накладка2501-89-33
2
0
2
27Накладка2501-89-33-20
0
2
0
28Панель2501-89-64
1
1
1
29Винт В.М6-6g?16 ГОСТ 17473-80-
6
6
6
30Шайба 6 ГОСТ 11371-7831 0110
18
0
18
30Шайба 6 ГОСТ 11371-7831 0110-20
0
18
0
31Упор2501-89-205
1
0
1
31Упор2501-89-205-20
0
1
0
32Панель2501-89-65
1
1
1
33Панель2501-89-66
1
1
1
34Упор2501-89-186
2
2
2
35Скоба2501-89-31
5
0
5
35Скоба2501-89-31-20
0
5
0
36Упор2501-89-188
5
5
5
37Шайба 5 ГОСТ 11371-7831 0080
24
0
24
37Шайба 5 ГОСТ 11371-7831 0080-20
0
24
0
38Шайба 5 ГОСТ 6402-70-
24
24
24
39Винт В.М5-6g?16 ГОСТ 17473-80-
4
4
4

© ООО Инженерные машины, 2016