| ||||||
| № п/п | Наименование | Код детали | ||||
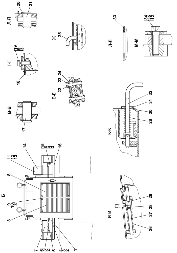
| 1 | Крыло | 2001-55-16СП(SP) | ||||
| 1 | Крыло | 2001-55-16-20СП(SP) | ||||
| 2 | Болт М12?1,25-6g?20 ГОСТ 7796-70 | 28 0320 | ||||
| 2 | Болт М12?1,25-6g?20 ГОСТ 7796-70 | 28 0320-20 | ||||
| 3 | Шайба 12 ОТ ГОСТ 6402-70 | - | ||||
| 4 | Шайба 12 ГОСТ 6958-78 | 31 0230 | ||||
| 4 | Шайба 12 ГОСТ 6958-78 | 31 0230-20 | ||||
| 5 | Уголок | 0902-55-44 | ||||
| 5 | Уголок | 0902-55-44-20 | ||||
| 6 | Болт М12?1,25-6g?25 ГОСТ 7796-70 | - | ||||
| 7 | Кожух | 2001-55-22СП(SP) | ||||
| 7 | Кожух | 2001-55-22-20СП(SP) | ||||
| 8 | Решетка | 1501-55-19СП(SP) | ||||
| 8 | Решетка | 1501-55-19-20СП(SP) | ||||
| 9 | Шайба | 31 5211 | ||||
| 9 | Шайба | 31 5211-20 | ||||
| 10 | Болт М12?1,25-6g?65 ГОСТ 7795-70 | 28 1379 | ||||
| 10 | Болт М12?1,25-6g?65 ГОСТ 7795-70 | 28 1379-20 | ||||
| 11 | Болт М8-6g?16 ГОСТ 7796-70 | - | ||||
| 12 | Шайба 8Т ГОСТ 6402-70 | - | ||||
| 13 | Шайба 8 ГОСТ 6958-78 | 31 0140 | ||||
| 13 | Шайба 8 ГОСТ 6958-78 | 31 0140-20 | ||||
| 14 | Кожух | 2001-55-27СП(SP) | ||||
| 14 | Кожух | 2001-55-27-20СП(SP) | ||||
| 15 | Уголок | 2001-55-23 | ||||
| 15 | Уголок | 2001-55-23-20 | ||||
| 16 | Крыло | 2001-55-15СП(SP) | ||||
| 16 | Крыло | 2001-55-15-20СП(SP) | ||||
| 17 | Палец | 2501-55-352 | ||||
| 18 | Прокладка | 2001-55-177 | ||||
| 19 | Болт М12?1,25-6g?30 ГОСТ 7796-70 | - | ||||
| 20 | Накладка | 2501-55-297 | ||||
| 21 | Палец | 2501-55-352-01 | ||||
| 22 | Болт М24?2-6g?70 ГОСТ 7796-70 | 28 0830 | ||||
| 22 | Болт М24?2-6g?70 ГОСТ 7796-70 | 28 0830-20 | ||||
| 23 | Пластина стопорная | 700-31-2413 | ||||
| 23 | Пластина стопорная | 700-31-2413-20 | ||||
| 24 | Планка | 2501-55-571 | ||||
| 24 | Планка | 2501-55-571-20 | ||||
| 25 | Ручка | 2001-55-30СП(SP) | ||||
| 26 | Пружина | 700-38-2563 | ||||
| 26 | Пружина | 700-38-2563-20 | ||||
| 27 | Стержень | 2501-55-215 | ||||
| 28 | Ручка | 2501-55-169СП(SP) | ||||
| 29 | Шплинт 4?25 ГОСТ 397-79 | - | ||||
| 30 | Шайба 10 ГОСТ 11371-78 | 31 0170 | ||||
| 30 | Шайба 10 ГОСТ 11371-78 | 31 0170-20 | ||||
| 31 | Планка | 2001-55-150 | ||||
| 31 | Планка | 2001-55-150-20 | ||||
| 32 | Ручка | 2001-55-25СП(SP) | ||||
| 33 | Теплошумовая защита | 1501-56-1-02СП(SP) | ||||
| 34 | Планка | 2501-55-574 | ||||
| 34 | Планка | 2501-55-574-20 | ||||
| 35 | Пластина стопорная | 700-31-2295 | ||||
| 35 | Пластина стопорная | 700-31-2295-20 | ||||
Обращаем Ваше внимание, что пункты отмеченные звездочкой, обязательны для заполнения.