| ||||||
| № п/п | Наименование | Код детали | ||||
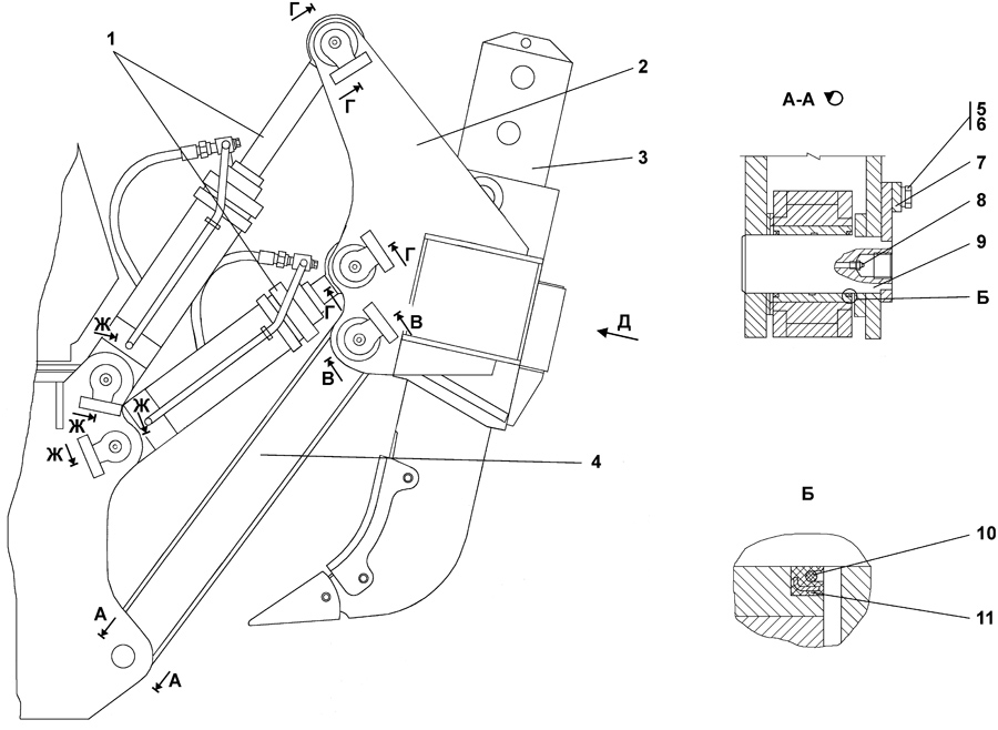
| 0 | Оборудование рыхлительное | 012001-98-1-02СП(SP) | ||||
| 0 | Оборудование рыхлительное | 012001-98-1-02-20СП | ||||
| 1 | Гидросистема рыхлительного оборудования | 012001-97-500СП(SP) | ||||
| 1 | Гидросистема рыхлительного оборудования | 012001-97-500-20СП | ||||
| 2 | Балка рабочая | 012001-98-60СП(SP) | ||||
| 2 | Балка рабочая | 012001-98-60-20СП | ||||
| 3 | Зуб | 012001-98-120СП(SP) | ||||
| 3 | Зуб | 011501-97-120-20СП | ||||
| 4 | Тяга | 012001-97-40СП(SP) | ||||
| 4 | Тяга | 012001-97-40-20СП | ||||
| 5 | Болт М16-6g?30 ГОСТ 7796-70 | 28 0521 | ||||
| 5 | Болт М16-6g?30 ГОСТ 7796-70 | 28 0521-20 | ||||
| 6 | Шайба 16 ОТ ГОСТ 6402-70 | - | ||||
| 7 | Планка | 46-98-2 | ||||
| 7 | Планка | 46-98-2-20 | ||||
| 8 | Масленка 1.2Ц6хр ГОСТ 19853-74 | - | ||||
| 8 | Масленка 1.2кд6хр ГОСТ 19853-74 | - | ||||
| 9 | Палец | 012001-97-30СП(SP) | ||||
| 10 | Кольцо 079-085-36-2-51-1668 ТУ 2531-260-00149245-00 | - | ||||
| 11 | Манжета | ТМ2501-11-20СП(SP) | ||||
Обращаем Ваше внимание, что пункты отмеченные звездочкой, обязательны для заполнения.