| ||||||
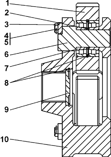
| № п/п | Наименование | Код детали | ||||
| 0 | Водило | 1501-96-101СП(SP) | ||||
| 1 | Сателлит | 1501-96-36 | ||||
| 2 | Кольцо распорное | 1501-96-70 | ||||
| 3 | Планка | 1501-96-63 | ||||
| 4 | Болт | 28 5120 | ||||
| 5 | Проволока 1,6-0-С ГОСТ 3282-74 | - | ||||
| 6 | Ось | 1501-96-37 | ||||
| 7 | Подшипник 42205 ГОСТ 8328-75 | - | ||||
| 8 | Кольцо С52 ГОСТ 13943-86 | 58 0515 | ||||
| 9 | Упор | 1501-96-64 | ||||
| 10 | Водило | 1501-96-35 | ||||
Обращаем Ваше внимание, что пункты отмеченные звездочкой, обязательны для заполнения.