| ||||||
| № п/п | Наименование | Код детали | ||||
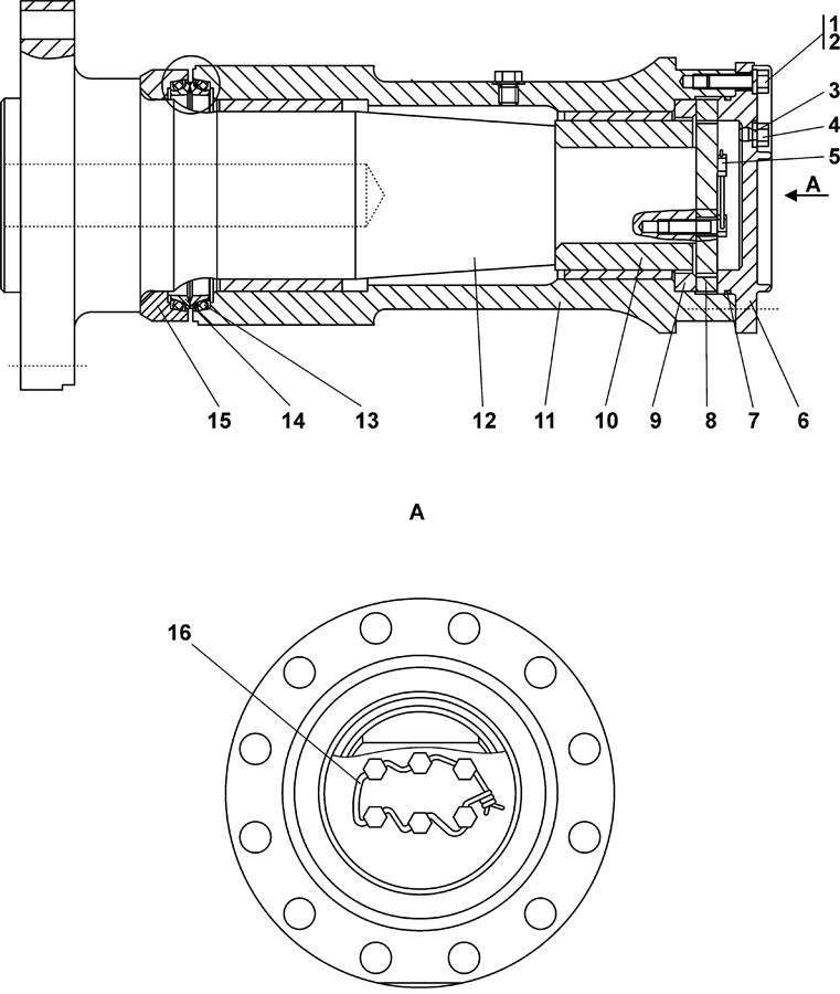
| 0 | Шарнир | 2001-21-18-01СП(SP) | ||||
| 0 | Шарнир | 2001-21-18-01-20СП | ||||
| 1 | Болт М16?1,5-6g?45 ГОСТ 7796-70 | 28 0544 | ||||
| 1 | Болт М16?1,5-6g?45 ГОСТ 7796-70 | 28 0544-20 | ||||
| 2 | Шайба 16 ОТ ГОСТ 6402-70 | - | ||||
| 3 | Прокладка | 700-40-260-11 | ||||
| 4 | Пробка | 37 5515 | ||||
| 4 | Пробка | 37 5515-20 | ||||
| 5 | Болт 3М16?1,5-6g?45 ГОСТ 7796-70 | 28 0545 | ||||
| 5 | Болт 3М16?1,5-6g?45 ГОСТ 7796-70 | 28 0545-20 | ||||
| 6 | Крышка | 2001-21-152 | ||||
| 6 | Крышка | 2001-21-152-20 | ||||
| 7 | Кольцо 180-185-36-2-51-1668 ТУ 2531-260-00149245-00 | - | ||||
| 8 | Фланец | 2001-21-157 | ||||
| 9 | Кольцо | 2001-21-156 | ||||
| 10 | Вкладыш | 2001-21-155 | ||||
| 11 | Корпус | 2001-21-19-01СП(SP) | ||||
| 12 | Ось | 2001-21-150 | ||||
| 13 | Кольцо упругое | 40 0323 | ||||
| 14 | Кольцо уплотнительное | 2501-21-198 | ||||
| 15 | Корпус уплотнения | 2001-21-153 | ||||
| 16 | Проволока КС-1,6 ГОСТ 792-67 | - | ||||
Обращаем Ваше внимание, что пункты отмеченные звездочкой, обязательны для заполнения.