| ||||||
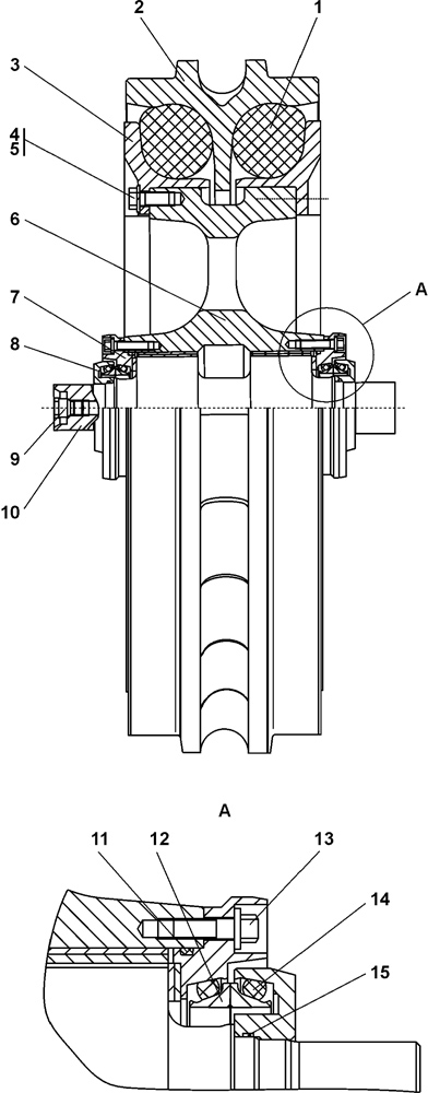
| № п/п | Наименование | Код детали | ||||
| 0 | Колесо натяжное | 2001-21-43СП(SP) | ||||
| 0 | Колесо натяжное | 2001-21-43-20СП(SP) | ||||
| 1 | Сектор упругий | 40 0441 | ||||
| 2 | Обод | 2001-21-114 | ||||
| 2 | Обод | 2001-21-114-20 | ||||
| 3 | Упор | 2001-21-115 | ||||
| 3 | Упор | 2001-21-115-20 | ||||
| 4 | Шайба | 31 5271 | ||||
| 4 | Шайба | 31 5271-20 | ||||
| 5 | Болт М16?1,5-6g?45 ГОСТ 7796-70 | 28 0544 | ||||
| 5 | Болт М16?1,5-6g?45 ГОСТ 7796-70 | 28 0544-20 | ||||
| 6 | Ступица | 2001-21-44СП(SP) | ||||
| 6 | Ступица | 2001-21-44-20СП(SP) | ||||
| 7 | Фланец | 2001-21-75СП(SP) | ||||
| 8 | Крышка | 2001-21-107 | ||||
| 9 | Пробка | 37 5509 | ||||
| 9 | Пробка | 37 5509-20 | ||||
| 10 | Ось | 2001-21-251 | ||||
| 11 | Кольцо 122-130-46-2-51-1668 ТУ 2531-260-00149245-00 | - | ||||
| 12 | Кольцо уплотнительное | 2501-21-142 | ||||
| 13 | Болт | 2501-21-411 | ||||
| 13 | Болт | 2501-21-411-20 | ||||
| 14 | Кольцо упругое | 40 0212 | ||||
| 15 | Кольцо 066-071-30-2-51-1668 ТУ 2531-260-00149245-00 | - | ||||
Обращаем Ваше внимание, что пункты отмеченные звездочкой, обязательны для заполнения.