| ||||||
| № п/п | Наименование | Код детали | ||||
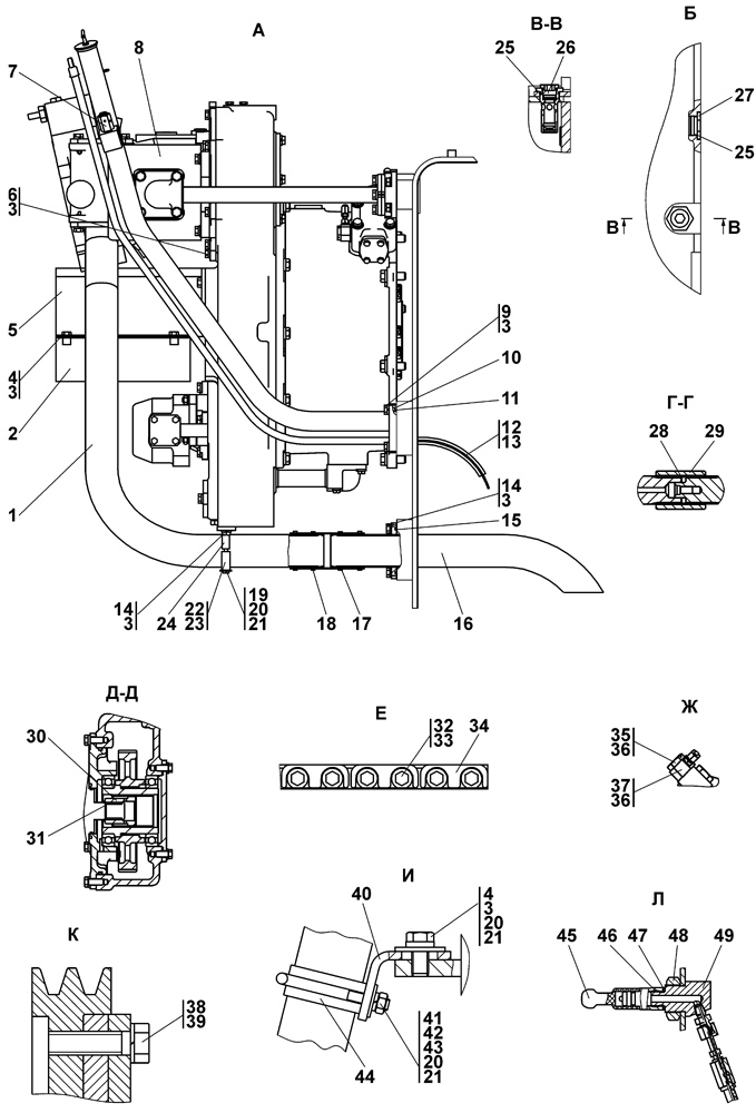
| 1 | Труба | 2001-16-47 | ||||
| 1 | Труба | 2001-16-47-20 | ||||
| 2 | Кожух | 2001-16-109СП(SP) | ||||
| 2 | Кожух | 2001-16-109-20СП(SP) | ||||
| 3 | Шайба 12 ОТ ГОСТ 6402-70 | - | ||||
| 4 | Болт М12?1,25-6g?25 ГОСТ 7796-70 | - | ||||
| 5 | Кожух | 2001-16-108СП(SP) | ||||
| 5 | Кожух | 2001-16-108-20СП(SP) | ||||
| 6 | Болт М12-6g?25 ГОСТ 7796-70 | - | ||||
| 7 | Сапун | 46-14-141СП(SP) | ||||
| 7 | Сапун | 46-14-141-20СП(SP) | ||||
| 8 | Насос НШ150Г-4Л ГСТУ 3-25-180-97 | - | ||||
| 8 | Насос НШ150Г-4ЛТ ГСТУ 3-25-180-97 | - | ||||
| 9 | Болт М8-6g?35 ГОСТ 7796-70 | - | ||||
| 10 | Кольцо 080-090-58-2-51-1668 ТУ 2531-260-00149245-00 | - | ||||
| 11 | Горловина | 2001-16-105СП(SP) | ||||
| 11 | Горловина | 2001-16-105-20СП(SP) | ||||
| 12 | Линейка | 3501-16-102-07СП(SP) | ||||
| 13 | Прокладка | 700-40-6575 | ||||
| 14 | Болт М12-6g?30 ГОСТ 7796-70 | - | ||||
| 15 | Кольцо 100-110-58-2-ИРП-1314-1 ГОСТ 18829-73 | - | ||||
| 16 | Трубопровод | 2001-16-100-01СП(SP) | ||||
| 16 | Трубопровод | 2001-16-100-01-20СП | ||||
| 17 | Шланговый хомут DIN3017-AS70-90/12C7-W2 | 476715900020 | ||||
| 18 | Рукав | 461701-04 | ||||
| 19 | Болт М8-6g?70 ГОСТ 7795-70 | - | ||||
| 20 | Шайба 8 ГОСТ 6958-78 (допускается замена на поз. 21) | 31 0140 | ||||
| 20 | Шайба 8 ГОСТ 6958-78 | 31 0140-20 | ||||
| 21 | Шайба 8 ГОСТ 6958-78 (взамен поз. 20) | - | ||||
| 22 | Бугель | 312501-94-105 | ||||
| 22 | Бугель | 312501-94-105-20 | ||||
| 23 | Уплотнение | 400040 | ||||
| 24 | Опора | 2001-16-101СП(SP) | ||||
| 24 | Опора | 2001-16-101-20СП(SP) | ||||
| 25 | Кольцо 040-045-30-2-51-1668 ТУ 2531-260-00149245-00 | - | ||||
| 26 | Клапан | 1101-16-112СП(SP) | ||||
| 26 | Клапан | 1101-16-112-20СП(SP) | ||||
| 27 | Пробка | 375969 | ||||
| 27 | Пробка | 375969-20 | ||||
| 28 | Кольцо С52 Ц9.хр ГОСТ 13943-86 | 58 0515 | ||||
| 29 | Муфта | 2001-16-28 | ||||
| 30 | Муфта | 2001-16-32 | ||||
| 31 | Кольцо С34 ГОСТ 13940-86 | 58 0307 | ||||
| 32 | Болт М20-6g?70.109 ГОСТ 7795-70 | 28 0733 | ||||
| 32 | Болт М20-6g?70.109 ГОСТ 7795-70 | 28 0733-20 | ||||
| 33 | Шайба 20 ОТ ГОСТ 6402-70 | - | ||||
| 34 | Планка | 2001-16-43 | ||||
| 34 | Планка | 2001-16-43-20 | ||||
| 35 | Болт зажимной | 2501-20-8 | ||||
| 35 | Болт зажимной | 2501-20-8-20 | ||||
| 36 | Кольцо 018-022-25-2-51-1668 ТУ 2531-260-00149245-00 | - | ||||
| 37 | Угольник | 1101-15-40 | ||||
| 37 | Угольник | 1101-15-40-20 | ||||
| 38 | Болт специальный | 2001-16-44 | ||||
| 38 | Болт специальный | 2001-16-44-20 | ||||
| 39 | Шайба 10 ГОСТ 6402-70 | - | ||||
| 40 | Кронштейн | 2001-16-15 | ||||
| 40 | Кронштейн | 2001-16-15-20 | ||||
| 41 | Хомут | 2501-15-107 | ||||
| 41 | Хомут | 2501-15-107-20 | ||||
| 42 | Гайка М8 ГОСТ 5915-70 | - | ||||
| 43 | Шайба 8Т ГОСТ 6402-70 | - | ||||
| 44 | Пластина | 2501-12-170 | ||||
| 45 | Вилка резиновая МБШ 14/35-12 МБШ 14/35-00ГЧ | - | ||||
| 46 | Вилка МБШ 14/35-02 МБШ 14/35-00ГЧ | - | ||||
| 47 | "Кольцо уплотнительное торцевое комбинированное USIТ 1/4"" МБШ 14/35-00ГЧ" | - | ||||
| 48 | Гайка М24?2 ГОСТ 15522-70 | 30 0365 | ||||
| 48 | Гайка М24?2 ГОСТ 15522-70 | 30 0365-20 | ||||
| 49 | Муфта | 4001-16-28 | ||||
| 49 | Муфта | 4001-16-28-20 | ||||
Обращаем Ваше внимание, что пункты отмеченные звездочкой, обязательны для заполнения.