| ||||||
| № п/п | Наименование | Код детали | ||||
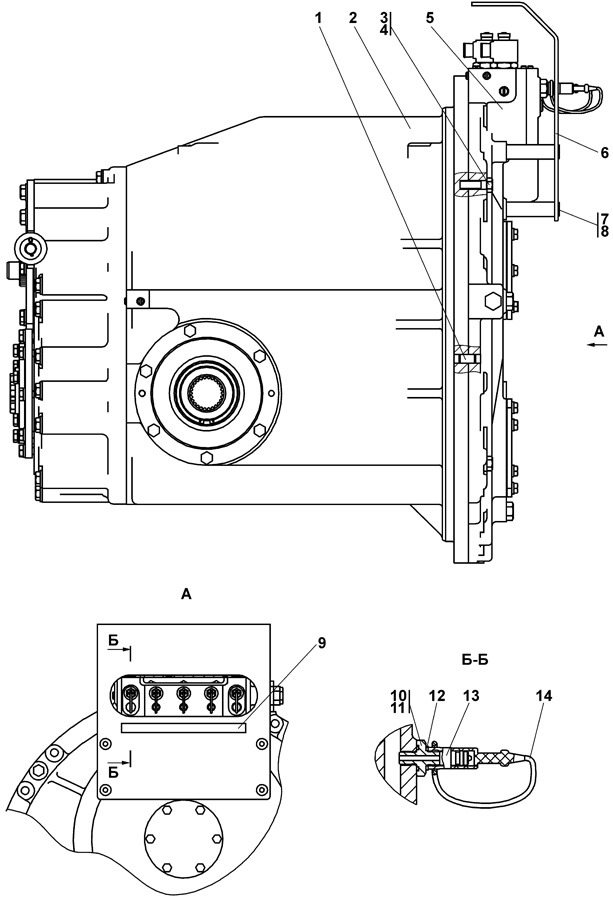
| 0 | Блок трансмиссии | 2001-12-17СП(SP) | ||||
| 0 | Блок трансмиссии | 2001-12-17-20СП(SP) | ||||
| 1 | Штифт | 32 5463 | ||||
| 2 | Передача главная | 2001-12-18СП(SP) | ||||
| 3 | Болт М16?1,5-6g?50.109 ГОСТ 7796-70 | 28 0550 | ||||
| 3 | Болт М16?1,5-6g?50.109 ГОСТ 7796-70 | 28 0550-20 | ||||
| 4 | Шайба 16 ОТ ГОСТ 6402-70 | - | ||||
| 5 | Коробка передач с системой гидроуправления | 2001-12-19СП(SP) | ||||
| 5 | Коробка передач с системой гидроуправления | 2001-12-19-20СП(SP) | ||||
| 6 | Кожух | 2001-12-120СП(SP) | ||||
| 6 | Кожух | 2001-12-120-20СП(SP) | ||||
| 7 | Болт 3М12-6g?110.109 ГОСТ 7795-70 | 28 1391 | ||||
| 7 | Болт 3М12-6g?110.109 ГОСТ 7795-70 | 28 1391-20 | ||||
| 8 | Шайба 12?2 ГОСТ 11371-78 | 31 0210 | ||||
| 8 | Шайба 12?2 ГОСТ 11371-78 | 31 0210-20 | ||||
| 9 | Табличка | 42 0506 | ||||
| 10 | Переходник | 2001-12-111 | ||||
| 10 | Переходник | 2001-12-111-20 | ||||
| 11 | Кольцо 018-022-25-2-51-1668 ТУ 2531-260-00149245-00 | - | ||||
| 12 | Кольцо уплотнительное торцевое комбинированное USIT 1/4 МБШ 14/35-00ГЧ | 479144000001 | ||||
| 13 | Вилка МБШ14/35-02 МБШ14/35-00ГЧ | 631315000043 | ||||
| 14 | Вилка резиновая МБШ 14/35-12 МБШ 14/35-00ГЧ | 631315000042 | ||||
Обращаем Ваше внимание, что пункты отмеченные звездочкой, обязательны для заполнения.