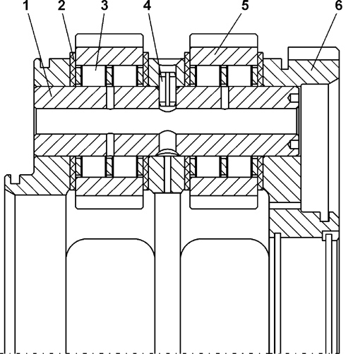
| ||||||
| № п/п | Наименование | Код детали | ||||
| 0 | Водило | 2001-12-102-20СП(SP) | ||||
| 1 | Ось | 2001-12-29 | ||||
| 2 | Кольцо упорное | 2001-12-27 | ||||
| 3 | Подшипник 6-252807Д | - | ||||
| 4 | Штифт | 2001-12-111СП(SP) | ||||
| 5 | Сателлит | 2001-12-26 | ||||
| 6 | Водило | 2001-12-46 | ||||
Обращаем Ваше внимание, что пункты отмеченные звездочкой, обязательны для заполнения.