| ||||||
| № п/п | Наименование | Код детали | ||||
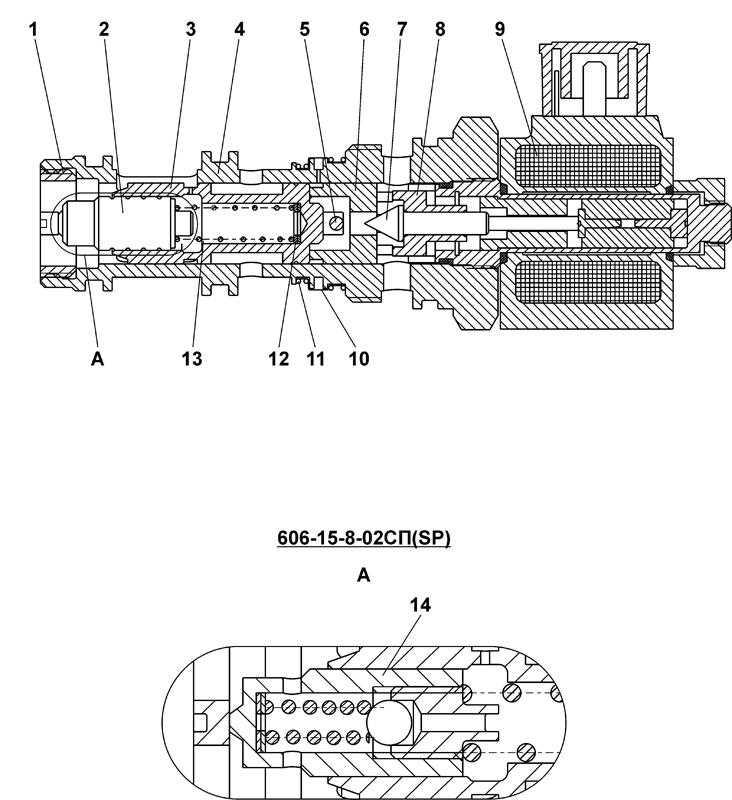
| 0 | Клапан | 606-15-8СП(SP) | ||||
| 0 | Клапан | 606-15-8-20СП(SP) | ||||
| 0 | Клапан* | 606-15-8-02СП(SP) | ||||
| 0 | Клапан | 606-15-8-02-20СП(SP) | ||||
| 1 | Пробка | 606-15-32 | ||||
| 1 | Пробка | 606-15-32-20 | ||||
| 2 | Плунжер | 606-15-38 | ||||
| 3 | Золотник | 606-15-28 | ||||
| 4 | Корпус | 606-15-27 | ||||
| 4 | Корпус | 606-15-27-20 | ||||
| 5 | Штифт | 606-15-33 | ||||
| 6 | Седло | 606-15-29 | ||||
| 6 | Седло* | 606-15-29-02 | ||||
| 7 | Игла | 606-15-30 | ||||
| 7 | Игла* | 606-15-41 | ||||
| 8 | Втулка | 606-15-31 | ||||
| 9 | Электромагнит C36G024DC P01 | C36G024DCP01 | ||||
| 10 | Сетка полутомпаковая 0355Н ГОСТ 6613-86 | 606-15-42 | ||||
| 11 | Проволока 0,6-0-С ГОСТ3282-74 | - | ||||
| 12 | Шайба | 606-15-43-01 | ||||
| 13 | Пружина | 38 5085 | ||||
| 14 | Клапан* | 606-15-7СП(SP) | ||||
| 14 | Клапан* | 606-15-7-01СП(SP) | ||||
Обращаем Ваше внимание, что пункты отмеченные звездочкой, обязательны для заполнения.