| ||||||
| № п/п | Наименование | Код детали | ||||
| 0 | Клапан | 313512-15-2СП(SP) | ||||
| 0 | Клапан | 313512-15-2-20СП(SP) | ||||
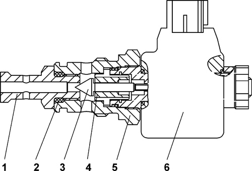
| 1 | Дроссель | 313512-15-18 | ||||
| 2 | Кольцо 010-014-25-2-3 ГОСТ 18829-73 | - | ||||
| 3 | Клапан | 313512-15-16 | ||||
| 4 | Втулка | 313512-15-17 | ||||
| 5 | Корпус | 313515-15-15 | ||||
| 5 | Корпус | 313512-15-15-20 | ||||
| 6 | Электромагнит C36G024DC PO1 | C36G024DC PO1 | ||||
Обращаем Ваше внимание, что пункты отмеченные звездочкой, обязательны для заполнения.