| ||||||
| № п/п | Наименование | Код детали | ||||
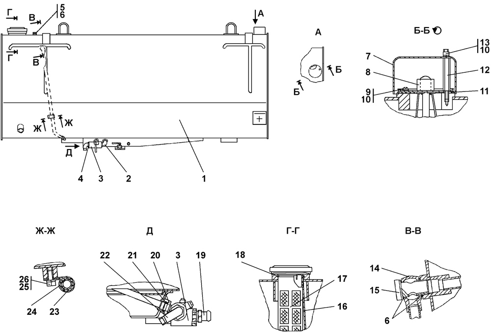
| 0 | Бак топливный | 2006-25-10-01СП(SP) | ||||
| 0 | Бак топливный | 2006-25-10-01-20СП | ||||
| 1 | Бак топливный | 2001-25-20-01СП(SP) | ||||
| 1 | Бак топливный | 2001-25-20-01-20СП | ||||
| 2 | Угольник ввертной | 1101-25-6 | ||||
| 2 | Угольник ввертной | 1101-25-6-20 | ||||
| 3 | Кран шаровой 0,63/15 ЦИУР 494647001 ТУ 3742-997-24337661-93 | - | ||||
| 4 | Контргайка | 1101-25-35 | ||||
| 4 | Контргайка | 1101-25-35-20 | ||||
| 5 | Пробка | 700-37-2077 | ||||
| 5 | Пробка | 700-37-2077-20 | ||||
| 6 | Кольцо 12?16 МН 4152-62 | - | ||||
| 7 | Колпачок | 2501-25-96 | ||||
| 7 | Колпачок | 2501-25-96-20 | ||||
| 8 | Датчик указателя уровня топлива БМ-162Б ТУ 311.00225.621152-93 | - | ||||
| 9 | Винт ВМ5-6g?12 ГОСТ 17473-80 | - | ||||
| 10 | Шайба 5 ГОСТ 6402-70 | - | ||||
| 11 | Прокладка | 45 0019 | ||||
| 11 | Прокладка | 45 0019-20 | ||||
| 12 | Шпилька | 2501-25-97 | ||||
| 12 | Шпилька | 2501-25-97-20 | ||||
| 13 | Гайка М5 ГОСТ 5927-70 | - | ||||
| 14 | Трубопровод | 2001-25-39СП(SP) | ||||
| 14 | Трубопровод | 2001-25-39-20СП(SP) | ||||
| 15 | Болт зажимной | 700-41-2622 | ||||
| 15 | Болт зажимной | 700-41-2622-20 | ||||
| 16 | Линейка мерная | 2001-25-18 | ||||
| 17 | Фильтр | 46-25-295СП(SP) | ||||
| 18 | Кольцо пружинное | 404-25-87 | ||||
| 18 | Кольцо пружинное | 404-25-87-20 | ||||
| 19 | Угольник ввертной | 1101-25-8 | ||||
| 19 | Угольник ввертной | 1101-25-8-20 | ||||
| 20 | Контргайка | Н.036.23.072 | ||||
| 20 | Контргайка | Н.036.23.072-01 | ||||
| 21 | Кольцо 021-027-36-2-51-1668 ТУ 2531-260-00149245-00 | - | ||||
| 22 | Угольник ввертной | 1101-25-7 | ||||
| 22 | Угольник ввертной | 1101-25-7-20 | ||||
| 23 | Хомутик | 700-41-2866 | ||||
| 24 | Прокладка | 700-40-6684-05 | ||||
| 25 | Шайба 8Т ГОСТ 6402-70 | - | ||||
| 26 | Болт М8-6g?16 ГОСТ 7796-70 | - | ||||
Обращаем Ваше внимание, что пункты отмеченные звездочкой, обязательны для заполнения.