| ||||||
| № п/п | Наименование | Код детали | ||||
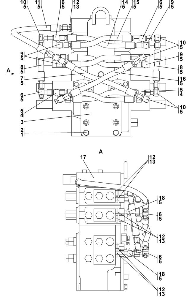
| 0 | Установка распределителя | 2022-26-15CП(SP) | ||||
| 0 | Установка распределителя | 2022-26-15-20CП(SP) | ||||
| 1 | Болт М12-6g?25 ГОСТ 7796-70 | - | ||||
| 2 | Шайба 12 ОТ ГОСТ 6402-70 | - | ||||
| 3 | Кронштейн | 2022-26-23CП(SP) | ||||
| 3 | Кронштейн | 2022-26-23-20CП(SP) | ||||
| 4 | Тройник | 311102-26-528-01CП | ||||
| 4 | Тройник | 311102-26-528-01-20CП | ||||
| 5 | Кольцо 008-010-14-2-51-1668 ТУ 2531-260-00149245-00 | - | ||||
| 6 | Тройник | 311102-26-528CП(SP) | ||||
| 6 | Тройник | 311102-26-528-20CП | ||||
| 7 | Рукав d8 | 311102-26-517-52CП | ||||
| 7 | Рукав d8 | 311102-26-517-52-20CП | ||||
| 8 | Рукав d8 | 311102-26-517-42CП | ||||
| 8 | Рукав d8 | 311102-26-517-42-20CП | ||||
| 9 | Тройник | 311102-26-528-03CП | ||||
| 9 | Тройник | 311102-26-528-03-20CП | ||||
| 10 | Угольник | 311102-26-514-02CП | ||||
| 10 | Угольник | 311102-26-514-02-20CП | ||||
| 11 | Рукав d8 | 311102-26-517-41CП | ||||
| 11 | Рукав d8 | 311102-26-517-41-20CП | ||||
| 12 | Штуцер ввертной | 313512-26-26 | ||||
| 12 | Штуцер ввертной | 313512-26-26-20 | ||||
| 13 | Шайба специальная | 0602-28-136К | ||||
| 14 | Рукав d8 | 311102-26-517-36CП | ||||
| 14 | Рукав d8 | 311102-26-517-36-20CП | ||||
| 15 | Рукав d8 | 311102-26-517-47CП | ||||
| 15 | Рукав d8 | 311102-26-517-47-20CП | ||||
| 16 | Рукав d8 | 311102-26-517-51CП | ||||
| 16 | Рукав d8 | 311102-26-517-51-20CП | ||||
| 17 | Гидрораспределитель М6-1339-00/4М6-22М2J+ 2WYV11 | - | ||||
| 18 | Тройник | 311102-26-523CП | ||||
| 18 | Тройник | 311102-26-523-20CП | ||||
Обращаем Ваше внимание, что пункты отмеченные звездочкой, обязательны для заполнения.