| ||||||
| № п/п | Наименование | Код детали | ||||
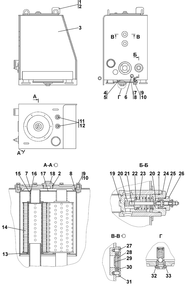
| 0 | Бак гидросистемы | 2001-26-30СП | ||||
| 0 | Бак гидросистемы | 2001-26-30-20СП | ||||
| 0 | Бак гидросистемы* | 2001-26-30-01СП | ||||
| 0 | Бак гидросистемы | 2001-26-30-01-20СП | ||||
| 1 | Сапун | 46-26-303СП(SP) | ||||
| 1 | Сапун | 46-26-303-20СП(SP) | ||||
| 2 | Кольцо 045-050-30-2-51-1668 ТУ 2531-260-00149245-00 | - | ||||
| 3 | Бак | 2001-26-31СП(SP) | ||||
| 3 | Бак | 2001-26-31-20СП(SP) | ||||
| 3 | Бак* | 2001-26-31-01СП(SP) | ||||
| 3 | Бак | 2001-26-31-01-20СП | ||||
| 4 | Пробка | 37 5625 | ||||
| 4 | Пробка | 37 5625-20 | ||||
| 5 | Кольцо 018-022-25-2-51-1668 ТУ 2531-260-00149245-00 | - | ||||
| 6 | Датчик сигнализатор температуры ТМ 111-09 ТУ 37.003.569-90 | - | ||||
| 7 | Крышка | 2501-26-178 | ||||
| 7 | Крышка | 2501-26-178-20 | ||||
| 8 | Кольцо 270-280-58-2-3 ГОСТ 18829-73 | - | ||||
| 9 | Болт М12?1,25-6g?25 ГОСТ 7796-70 | - | ||||
| 10 | Шайба 12 ОТ ГОСТ 6402-70 | - | ||||
| 11 | Пробка | 37 5245 | ||||
| 11 | Пробка | 37 5245-20 | ||||
| 12 | Кольцо 007-011-25-2-51-1668 ТУ 2531-260-00149245-00 | - | ||||
| 13 | Прокладка | 40 0380 | ||||
| 13 | Прокладка | 40 0380-20 | ||||
| 14 | Элемент фильтрующий ЭФМ 020.1012040 ТУ 3117.008.00232058-97 | - | ||||
| 15 | Пружина | 700-38-2332 | ||||
| 16 | Стакан | 3501-26-105СП(SP) | ||||
| 17 | Проставка | 2001-26-108 | ||||
| 18 | Пробка | 37 5970 | ||||
| 18 | Пробка | 37 5970-20 | ||||
| 19 | Клапан | 31 3502-26-260 | ||||
| 20 | Пружина | 700-38-2280 | ||||
| 21 | Шток | 2501-26-192СП(SP) | ||||
| 22 | Втулка | 2501-26-185 | ||||
| 23 | Пружина | 700-38-2183 | ||||
| 24 | Крышка | 1101-26-181 | ||||
| 24 | Крышка | 1101-26-181-20 | ||||
| 25 | Кольцо 024-028-25-2-51-1668 ТУ 2531-260-00149245-00 | - | ||||
| 26 | Пробка | 3500-15-16СП(SP) | ||||
| 26 | Пробка | 3500-15-16-20СП(SP) | ||||
| 27 | Винт В.М-6g?12 ГОСТ 17475-80 | - | ||||
| 28 | Стекло | 46-26-1317 | ||||
| 29 | Отражатель | 46-26-957 | ||||
| 30 | Уплотнение | 40 0089 | ||||
| 31 | Крышка | 46-26-964 | ||||
| 31 | Крышка | 46-26-964-20 | ||||
| 32 | Кольцо 040-045-30-2-51-1668 ТУ 2531-260-00149245-00 | - | ||||
| 33 | Клапан | 1101-16-112СП(SP) | ||||
| 33 | Клапан | 1101-16-112-20СП(SP) | ||||
Обращаем Ваше внимание, что пункты отмеченные звездочкой, обязательны для заполнения.