| ||||||
| № п/п | Наименование | Код детали | ||||
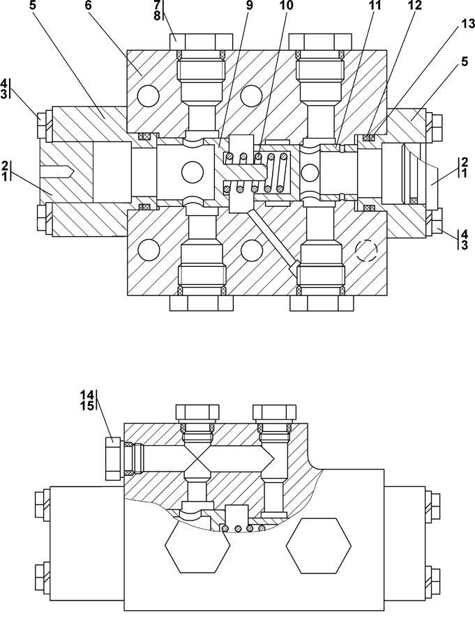
| 0 | Устройство перепускное | 1501-26-508-01СП | ||||
| 0 | Устройство перепускное | 1501-26-508-01-20СП | ||||
| 1 | Кольцо 034-040-36-2-51-1668 ТУ 2531-260-00149245-00 | - | ||||
| 2 | Заглушка | 1501-26-628 | ||||
| 2 | Заглушка | 1501-26-628-20 | ||||
| 3 | Шайба 12 ОТ ГОСТ 6402-70 | - | ||||
| 4 | Болт М12?1,25-6g?50.88 ГОСТ 7796-70 | 28 0365 | ||||
| 4 | Болт М12?1,25-6g?50.88 ГОСТ 7796-70 | 28 0365-20 | ||||
| 5 | Фланец | 2001-26-572 | ||||
| 6 | Корпус | 2001-26-589-01 | ||||
| 7 | Пробка | 37 5941 | ||||
| 7 | Пробка | 37 5941-20 | ||||
| 8 | Кольцо 026-032-36-2-51-1668 ТУ 2531-260-00149245-00 | - | ||||
| 9 | Толкатель | 2001-26-574-01 | ||||
| 10 | Пружина | 38 327 | ||||
| 11 | Плунжер | 2001-26-575 | ||||
| 12 | Кольцо 042-050-46-2-51-1668 ТУ 2531-260-00149245-00 | - | ||||
| 13 | Шайба защитная | 44 0005 | ||||
| 14 | Пробка | 37 5625-02 | ||||
| 14 | Пробка | 37 5625-02-20 | ||||
| 15 | Кольца 018-022-25-2-51-1668 ТУ 2531-260-00149245-00 | - | ||||
Обращаем Ваше внимание, что пункты отмеченные звездочкой, обязательны для заполнения.