| ||||||
| № п/п | Наименование | Код детали | ||||
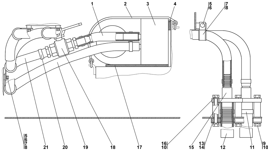
| 0 | Установка отопителя кабины | 1101-47-1СП(SP) | ||||
| 0 | Установка отопителя кабины | 1101-47-1-20СП(SP) | ||||
| 1 | Рукав | 46 0601-14 | ||||
| 1 | Рукав | 46 0601-14-20 | ||||
| 2 | Ремень 2105-1311090 (поставка по контракту) | - | ||||
| 3 | Отопитель зависимый Xeros 4000* (поставка по контракту) | 282 110 250 | ||||
| 4 | Прокладка | 40 0484 | ||||
| 5 | Болт М8-6g?16 ГОСТ 7796-70 | - | ||||
| 6 | Шайба 8Т ГОСТ 6402-70 | - | ||||
| 7 | Прокладка | 700-40-6927 | ||||
| 7 | Прокладка | 700-40-6927-20 | ||||
| 8 | Хомутик | 700-41-2548 | ||||
| 9 | Болт М10-6g?25 ГОСТ 7796-70 | 28 0230 | ||||
| 9 | Болт М10-6g?25 ГОСТ 7796-70 | 28 0230-20 | ||||
| 10 | Шайба 10 ОТ ГОСТ 6402-70 | - | ||||
| 11 | Шланговый хомут DIN 3017-AS 30-45/12C7-W2 | - | ||||
| 12 | Рукав | 46 0901-07 | ||||
| 12 | Рукав | 46 0901-07-20 | ||||
| 13 | Пластина | 2002-43-75 | ||||
| 14 | Амортизатор | 40 0469 | ||||
| 15 | Трубопровод | 1101-47-10СП(SP) | ||||
| 15 | Трубопровод | 1101-47-10-20СП(SP) | ||||
| 16 | Болт М10-6g?20 ГОСТ 7796-70 | - | ||||
| 17 | Прокладка | 40 0484 | ||||
| 18 | Кран | 1101-47-11СП(SP) | ||||
| 19 | Рукав | 46 0601-39 | ||||
| 19 | Рукав | 46 0601-39-20 | ||||
| 20 | Шланговый хомут DIN 3017-AS 20-32/12C7-W2 | - | ||||
| 21 | Рукав | 46 0601-41 | ||||
| 21 | Рукав | 46 0601-41-20 | ||||
Обращаем Ваше внимание, что пункты отмеченные звездочкой, обязательны для заполнения.