| ||||||
| № п/п | Наименование | Код детали | ||||
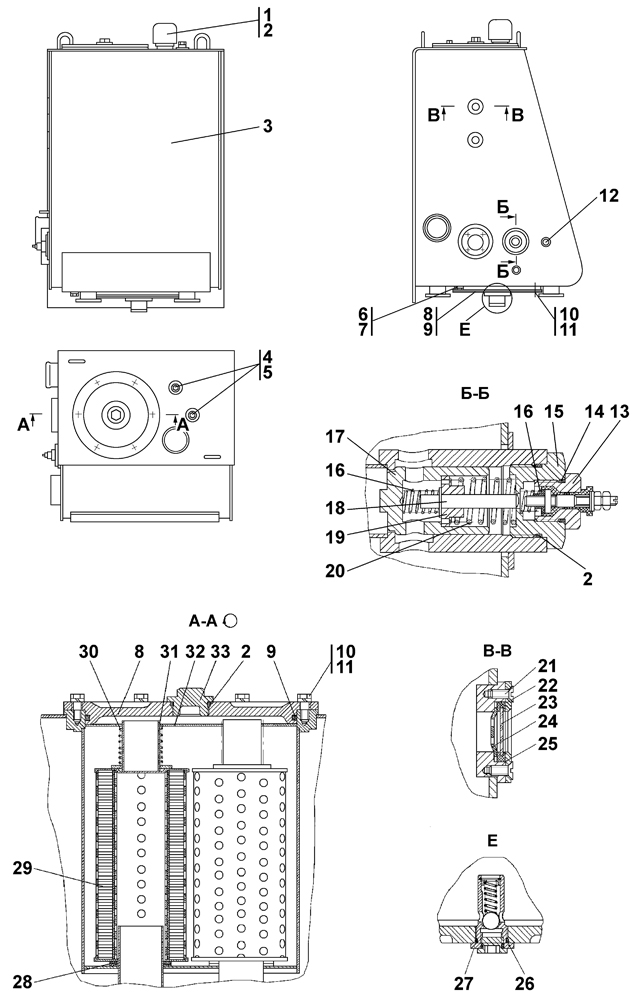
| 0 | Бак гидросистемы | 2501-26-81СП(SP) | ||||
| 0 | Бак гидросистемы | 2501-26-81-20СП(SP) | ||||
| 1 | Сапун | 46-26-303СП(SP) | ||||
| 1 | Сапун | 46 26-303-20СП(SP) | ||||
| 2 | Кольцо 045-050-30-2-51-1668 ТУ2531-260-00149245-00 | - | ||||
| 3 | Бак | 2501-26-255СП(SP) | ||||
| 3 | Бак | 2501-26-255-20СП(SP) | ||||
| 4 | Пробка | 37 5245 | ||||
| 4 | Пробка | 37 5245-20 | ||||
| 5 | Кольцо 007-011-25-2-51-1668 ТУ2531-260-00149245-00 | - | ||||
| 6 | Пробка | 37 5625 | ||||
| 6 | Пробка | 37 5625-20 | ||||
| 7 | Кольцо 018-022-25-2-51-1668 ТУ2531-260-00149245-00 | - | ||||
| 8 | Крышка | 2501-26-178 | ||||
| 8 | Крышка | 2501-26-178-20 | ||||
| 9 | Кольцо 270-280-58-2-3 ГОСТ 18829-73 | - | ||||
| 10 | Болт М12x1,25-6gx25 ГОСТ 7796-70 | - | ||||
| 11 | Шайба 12.ОТ ГОСТ 6402-70 | - | ||||
| 12 | Датчик сигнализатора температуры ТМ111-01 ТУ.37.003.569-90 | - | ||||
| 13 | Пробка | 3501-15-16СП(SP) | ||||
| 13 | Пробка | 3501-15-16-20СП(SP) | ||||
| 14 | Кольцо 024-028-25-2-51-1668 ТУ2531-260-00149245-00 | - | ||||
| 15 | Крышка | 1101-26-181 | ||||
| 15 | Крышка | 1101-26-181-20 | ||||
| 16 | Пружина | 700-38-2280 | ||||
| 17 | Клапан | 313502-26-260 | ||||
| 18 | Шток | 2501-26-192СП(SP) | ||||
| 19 | Втулка | 2501-26-185 | ||||
| 20 | Пружина | 700-38-2183 | ||||
| 21 | Винт В.М6-6gx12 ГОСТ 17475-80 | - | ||||
| 22 | Уплотнение | 40 0089 | ||||
| 23 | Стекло | 46-26-1317 | ||||
| 24 | Отражатель | 46-26-957 | ||||
| 25 | Крышка | 46-26-964 | ||||
| 25 | Крышка | 46-26-964-20 | ||||
| 26 | Клапан | 1101-16-112СП(SP) | ||||
| 26 | Клапан | 1101-16-112-20СП(SP) | ||||
| 27 | Кольцо 040-045-30-2-51-1668 ТУ2531-260-00149245-00 | - | ||||
| 28 | Прокладка | 40 0380 | ||||
| 28 | Прокладка | 40 0380-20 | ||||
| 29 | Элемент фильтрующий ЭФМ 020.1012040 ТУ 3117.008.00232058 | - | ||||
| 30 | Стакан | 3501-26-105СП(SP) | ||||
| 31 | Пружина | 700-38-2332 | ||||
| 32 | Проставка | 3501-26-14 | ||||
| 33 | Пробка | 37 5970 | ||||
| 33 | Пробка | 37 5970-20 | ||||
Обращаем Ваше внимание, что пункты отмеченные звездочкой, обязательны для заполнения.